Наша группа Вконтакте vk.com/4ertimcom

ГОСТ 6001-10000

ГОСТ Р ИСО 9241-110-2009

E-mail автора: 

Эргономика взаимодействия человек-система. Часть 110. Принципы организации диалога

Обозначение: ГОСТ Р ИСО 9241-110-2009
Статус: действующий
Название рус.: Эргономика взаимодействия человек-система. Часть 110. Принципы организации диалога
Название англ.: Ergonomics of human-system interaction. Part 110. Dialogue principles
Дата актуализации текста: 19.06.2012
Дата актуализации описания: 19.06.2012
Дата введения в действие: 01.12.2010
Область и условия применения: Настоящий стандарт устанавливает семь основных эргономических принципов конструкции интерактивных систем в общем виде (т.е. без привязки к расположению системы, окружающей среде и технологии изготовления) и служит основой для применения этих принципов при проведении анализа, проектировании и оценке таких систем.
Так как настоящий стандарт применим ко всем типам интерактивных систем, он не учитывает особенности использования каждого типа этих систем (например, особенности безопасности системы или совместной работы пользователей)


ГОСТ Р ИСО 9241-110-2009
ГОСТ Р ИСО 9241-110-2009
ГОСТ Р ИСО 9241-110-2009
ГОСТ Р ИСО 9241-110-2009
ГОСТ Р ИСО 9241-110-2009
ГОСТ Р ИСО 9241-110-2009
ГОСТ Р ИСО 9241-110-2009
ГОСТ Р ИСО 9241-110-2009
ГОСТ Р ИСО 9241-110-2009
ГОСТ Р ИСО 9241-110-2009
ГОСТ Р ИСО 9241-110-2009
ГОСТ Р ИСО 9241-110-2009
ГОСТ Р ИСО 9241-110-2009
ГОСТ Р ИСО 9241-110-2009
ГОСТ Р ИСО 9241-110-2009
ГОСТ Р ИСО 9241-110-2009
ГОСТ Р ИСО 9241-110-2009
ГОСТ Р ИСО 9241-110-2009
ГОСТ Р ИСО 9241-110-2009
ГОСТ Р ИСО 9241-110-2009
ГОСТ Р ИСО 9241-110-2009
ГОСТ Р ИСО 9241-110-2009
ГОСТ Р ИСО 9241-110-2009
ГОСТ Р ИСО 9241-110-2009
ГОСТ Р ИСО 9241-110-2009
ГОСТ Р ИСО 9241-110-2009
ГОСТ Р ИСО 9241-110-2009
ГОСТ Р ИСО 9241-110-2009
Автор: 
Домашняя страница автора: 

ГОСТ Р ИСО 9686-2009

E-mail автора: 

Железо прямого восстановления. Определение содержания углерода и/или серы. Метод инфракрасной спектроскопии после сжигания пробы в индукционной печи

Обозначение: ГОСТ Р ИСО 9686-2009
Статус: действующий
Название рус.: Железо прямого восстановления. Определение содержания углерода и/или серы. Метод инфракрасной спектроскопии после сжигания пробы в индукционной печи
Название англ.: Direct reduced iron. Determination of carbon and/or sulfur content. Method of infrared spectroscopy after sample burning in induction furnace
Дата актуализации текста: 19.06.2012
Дата актуализации описания: 19.06.2012
Дата введения в действие: 01.08.2010
Область и условия применения: Настоящий стандарт применяют для определения содержания углерода и/или серы в железе прямого восстановления методом инфракрасной спектроскопии после сжигания пробы в высокочастотной (ВЧ) индукционной печи.
Метод применим для определения массовой доли углерода в диапазоне от 0,05 % до 2,5 % и/или массовой доли серы в диапазоне от 0,001 % до 0,055 % в железе прямого восстановления


ГОСТ Р ИСО 9686-2009
ГОСТ Р ИСО 9686-2009
ГОСТ Р ИСО 9686-2009
ГОСТ Р ИСО 9686-2009
ГОСТ Р ИСО 9686-2009
ГОСТ Р ИСО 9686-2009
ГОСТ Р ИСО 9686-2009
ГОСТ Р ИСО 9686-2009
ГОСТ Р ИСО 9686-2009
ГОСТ Р ИСО 9686-2009
ГОСТ Р ИСО 9686-2009
ГОСТ Р ИСО 9686-2009
ГОСТ Р ИСО 9686-2009
ГОСТ Р ИСО 9686-2009
ГОСТ Р ИСО 9686-2009
ГОСТ Р ИСО 9686-2009
ГОСТ Р ИСО 9686-2009
ГОСТ Р ИСО 9686-2009
ГОСТ Р ИСО 9686-2009
ГОСТ Р ИСО 9686-2009
Автор: 
Домашняя страница автора: 

ГОСТ Р ИСО 9355-1-2009

E-mail автора: 

Эргономические требования к проектированию дисплеев и механизмов управления. Часть 1. Взаимодействие с человеком

Обозначение: ГОСТ Р ИСО 9355-1-2009
Статус: действующий
Название рус.: Эргономические требования к проектированию дисплеев и механизмов управления. Часть 1. Взаимодействие с человеком
Название англ.: Ergonomic requirements for the design of displays and control actuators. Part 1. Interactions with human
Дата актуализации текста: 19.06.2012
Дата актуализации описания: 19.06.2012
Дата введения в действие: 01.12.2010
Область и условия применения: Настоящий стандарт предназначен для применения при проектировании дисплеев (устройств отображения и воспроизведения информации) и механизмов управления машин. Настоящий стандарт устанавливает общие принципы взаимодействия оператора с дисплеями и механизмами управления, позволяющие минимизировать ошибки оператора и обеспечить эффективное взаимодействие между оператором и оборудованием. Особенно важно соблюдать эти принципы, если ошибка оператора может привести к травме или нанести вред здоровью персонала


ГОСТ Р ИСО 9355-1-2009
ГОСТ Р ИСО 9355-1-2009
ГОСТ Р ИСО 9355-1-2009
ГОСТ Р ИСО 9355-1-2009
ГОСТ Р ИСО 9355-1-2009
ГОСТ Р ИСО 9355-1-2009
ГОСТ Р ИСО 9355-1-2009
ГОСТ Р ИСО 9355-1-2009
ГОСТ Р ИСО 9355-1-2009
ГОСТ Р ИСО 9355-1-2009
ГОСТ Р ИСО 9355-1-2009
ГОСТ Р ИСО 9355-1-2009
ГОСТ Р ИСО 9355-1-2009
ГОСТ Р ИСО 9355-1-2009
ГОСТ Р ИСО 9355-1-2009
ГОСТ Р ИСО 9355-1-2009
Автор: 
Домашняя страница автора: 

ГОСТ Р ИСО 9355-2-2009

E-mail автора: 

Эргономические требования к проектированию дисплеев и механизмов управления. Часть 2. Дисплеи

Обозначение: ГОСТ Р ИСО 9355-2-2009
Статус: действующий
Название рус.: Эргономические требования к проектированию дисплеев и механизмов управления. Часть 2. Дисплеи
Название англ.: Ergonomic requirements for the design of displays and control actuators. Part 2. Displays
Дата актуализации текста: 19.06.2012
Дата актуализации описания: 19.06.2012
Дата введения в действие: 01.12.2010
Область и условия применения: Настоящий стандарт устанавливает руководящие принципы выбора конструкции и мест расположения дисплеев, отображающих информацию. Применение настоящего стандарта способствует снижению эргономических опасностей, связанных с использованием дисплея. Настоящий стандарт устанавливает эргономические требования к видеодисплеям, а также к акустическим и тактильным устройствам отображения информации и воспроизведения сигналов (дисплеям).
Настоящий стандарт распространяется на дисплеи, используемые в технических устройствах (панелях управления, приборах, пультах мониторинга, диспетчерского и оперативного управления и т.п.), находящиеся как в промышленном, так и в частном применении.
Эргономические требования для офисных задач с использованием видеодисплейных терминалов (VDT) установлены в стандартах серии ИСО 9241


ГОСТ Р ИСО 9355-2-2009
ГОСТ Р ИСО 9355-2-2009
ГОСТ Р ИСО 9355-2-2009
ГОСТ Р ИСО 9355-2-2009
ГОСТ Р ИСО 9355-2-2009
ГОСТ Р ИСО 9355-2-2009
ГОСТ Р ИСО 9355-2-2009
ГОСТ Р ИСО 9355-2-2009
ГОСТ Р ИСО 9355-2-2009
ГОСТ Р ИСО 9355-2-2009
ГОСТ Р ИСО 9355-2-2009
ГОСТ Р ИСО 9355-2-2009
ГОСТ Р ИСО 9355-2-2009
ГОСТ Р ИСО 9355-2-2009
ГОСТ Р ИСО 9355-2-2009
ГОСТ Р ИСО 9355-2-2009
ГОСТ Р ИСО 9355-2-2009
ГОСТ Р ИСО 9355-2-2009
ГОСТ Р ИСО 9355-2-2009
ГОСТ Р ИСО 9355-2-2009
ГОСТ Р ИСО 9355-2-2009
ГОСТ Р ИСО 9355-2-2009
ГОСТ Р ИСО 9355-2-2009
ГОСТ Р ИСО 9355-2-2009
Автор: 
Домашняя страница автора: 

ГОСТ Р ИСО 9585-2009

E-mail автора: 

Имплантаты для хирургии. Определение прочности и жесткости на изгиб металлических пластинок для скрепления отломков кости

Обозначение: ГОСТ Р ИСО 9585-2009
Статус: действующий
Название рус.: Имплантаты для хирургии. Определение прочности и жесткости на изгиб металлических пластинок для скрепления отломков кости
Название англ.: Implants for surgery. Determination of bending strength and stiffness of bone plates
Дата актуализации текста: 19.06.2012
Дата актуализации описания: 19.06.2012
Дата введения в действие: 01.09.2010
Область и условия применения: В настоящем стандарте представлен метод испытания и определения прочности и жесткости на изгиб прямых пластинок для скрепления отломков кости. Этот метод можно применять для испытаний пластинок с небольшой заданной кривизной, предназначенных для скрепления кости, а также для испытания прямого участка пластинок, согнутых под углом


ГОСТ Р ИСО 9585-2009
ГОСТ Р ИСО 9585-2009
ГОСТ Р ИСО 9585-2009
ГОСТ Р ИСО 9585-2009
ГОСТ Р ИСО 9585-2009
ГОСТ Р ИСО 9585-2009
ГОСТ Р ИСО 9585-2009
ГОСТ Р ИСО 9585-2009
Автор: 
Домашняя страница автора: 

ГОСТ Р ИСО 7886-1-2009

E-mail автора: 

Шприцы инъекционные однократного применения стерильные. Часть 1. Шприцы для ручного использования

Обозначение: ГОСТ Р ИСО 7886-1-2009
Статус: действующий
Название рус.: Шприцы инъекционные однократного применения стерильные. Часть 1. Шприцы для ручного использования
Название англ.: Sterile hypodermic syringes for single use. Part 1. Syringes for manual use
Дата актуализации текста: 19.06.2012
Дата актуализации описания: 19.06.2012
Дата введения в действие: 01.09.2010
Область и условия применения: Настоящий стандарт устанавливает требования к стерильным инъекционным шприцам однократного применения, изготовленным из полимерных материалов, и предназначенным для использования сразу же после заполнения.
Стандарт не распространяется на инсулиновые шприцы, шприцы из стекла, шприцы со встроенными иглами, шприцы для использования с механическим нагнетателем и шприцы, предварительно заполненные инъекционным раствором
Список изменений: №0 от 26.04.2011 (рег. 26.04.2011) «Дата введения перенесена»
Приложение №1: Поправка к ГОСТ Р ИСО 7886-1-2009


ГОСТ Р ИСО 7886-1-2009
ГОСТ Р ИСО 7886-1-2009
ГОСТ Р ИСО 7886-1-2009
ГОСТ Р ИСО 7886-1-2009
ГОСТ Р ИСО 7886-1-2009
ГОСТ Р ИСО 7886-1-2009
ГОСТ Р ИСО 7886-1-2009
ГОСТ Р ИСО 7886-1-2009
ГОСТ Р ИСО 7886-1-2009
ГОСТ Р ИСО 7886-1-2009
ГОСТ Р ИСО 7886-1-2009
ГОСТ Р ИСО 7886-1-2009
ГОСТ Р ИСО 7886-1-2009
ГОСТ Р ИСО 7886-1-2009
ГОСТ Р ИСО 7886-1-2009
ГОСТ Р ИСО 7886-1-2009
ГОСТ Р ИСО 7886-1-2009
ГОСТ Р ИСО 7886-1-2009
ГОСТ Р ИСО 7886-1-2009
ГОСТ Р ИСО 7886-1-2009
ГОСТ Р ИСО 7886-1-2009
ГОСТ Р ИСО 7886-1-2009
ГОСТ Р ИСО 7886-1-2009
ГОСТ Р ИСО 7886-1-2009
ГОСТ Р ИСО 7886-1-2009
ГОСТ Р ИСО 7886-1-2009
ГОСТ Р ИСО 7886-1-2009
ГОСТ Р ИСО 7886-1-2009


Поправка к ГОСТ Р ИСО 7886-1-2009

Обозначение: Поправка к ГОСТ Р ИСО 7886-1-2009
Дата введения в действие: 26.04.2011
Дата актуализации: 11.11.2011


Поправка к ГОСТ Р ИСО 7886-1-2009
Автор: 
Домашняя страница автора: 

ГОСТ Р ИСО 7218-2008

E-mail автора: 

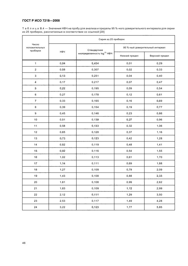
Микробиология пищевых продуктов и кормов для животных. Общие требования и рекомендации по микробиологическим исследованиям

Обозначение: ГОСТ Р ИСО 7218-2008
Статус: действующий
Название рус.: Микробиология пищевых продуктов и кормов для животных. Общие требования и рекомендации по микробиологическим исследованиям
Название англ.: Microbiology of foods and animal feed – General requirements and guide for microbiological research
Дата актуализации текста: 19.06.2012
Дата актуализации описания: 19.06.2012
Дата введения в действие: 01.01.2010
Область и условия применения: Настоящий стандарт устанавливает общие требования и дает рекомендации/варианты по трем основным направлениям:
- внедрение стандартов Технического комитета ИСО/ТК 34/SC9 или 34/SC 5 по обнаружению и подсчету микроорганизмов, здесь и далее называемых соответствующими «стандартами на конкретный метод испытания»;
- надлежащая лабораторная практика для микробиологических лабораторий, исследующих пищевые продукты (в задачи настоящего стандарта не входит их описание, для этого имеются специальные справочники);
- руководство по аккредитации микробиологических лабораторий (в настоящем стандарте описываются технические требования согласно приложению В стандарта ИСО 17025 для аккредитации микробиологических лабораторий национальными органами).
Требования настоящего стандарта отменяют и заменяют собой соответствующие требования существующих стандартов на конкретный метод испытания.
Дополнительные требования по исследованиям в области молекулярной биологии приведены в ИСО 22174.
Настоящий стандарт распространяется на исследования бактерий, дрожжей и плесеней. Допускается применение настоящего стандарта при исследованиях паразитов и вирусов при условии дополнения конкретными рекомендациями.
Настоящий стандарт не распространяется на исследования токсинов и других продуктов метаболизма (например аминов) микроорганизмов.
Настоящий стандарт применяется в микробиологии пищевых продуктов, кормов для животных, окружающей среды производства пищевых продуктов и производства сырья для пищевых продуктов


ГОСТ Р ИСО 7218-2008
ГОСТ Р ИСО 7218-2008
ГОСТ Р ИСО 7218-2008
ГОСТ Р ИСО 7218-2008
ГОСТ Р ИСО 7218-2008
ГОСТ Р ИСО 7218-2008
ГОСТ Р ИСО 7218-2008
ГОСТ Р ИСО 7218-2008
ГОСТ Р ИСО 7218-2008
ГОСТ Р ИСО 7218-2008
ГОСТ Р ИСО 7218-2008
ГОСТ Р ИСО 7218-2008
ГОСТ Р ИСО 7218-2008
ГОСТ Р ИСО 7218-2008
ГОСТ Р ИСО 7218-2008
ГОСТ Р ИСО 7218-2008
ГОСТ Р ИСО 7218-2008
ГОСТ Р ИСО 7218-2008
ГОСТ Р ИСО 7218-2008
ГОСТ Р ИСО 7218-2008
ГОСТ Р ИСО 7218-2008
ГОСТ Р ИСО 7218-2008
ГОСТ Р ИСО 7218-2008
ГОСТ Р ИСО 7218-2008
ГОСТ Р ИСО 7218-2008
ГОСТ Р ИСО 7218-2008
ГОСТ Р ИСО 7218-2008
ГОСТ Р ИСО 7218-2008
ГОСТ Р ИСО 7218-2008
ГОСТ Р ИСО 7218-2008
ГОСТ Р ИСО 7218-2008
ГОСТ Р ИСО 7218-2008
ГОСТ Р ИСО 7218-2008
ГОСТ Р ИСО 7218-2008
ГОСТ Р ИСО 7218-2008
ГОСТ Р ИСО 7218-2008
ГОСТ Р ИСО 7218-2008
ГОСТ Р ИСО 7218-2008
ГОСТ Р ИСО 7218-2008
ГОСТ Р ИСО 7218-2008
ГОСТ Р ИСО 7218-2008
ГОСТ Р ИСО 7218-2008
ГОСТ Р ИСО 7218-2008
ГОСТ Р ИСО 7218-2008
ГОСТ Р ИСО 7218-2008
ГОСТ Р ИСО 7218-2008
ГОСТ Р ИСО 7218-2008
ГОСТ Р ИСО 7218-2008
ГОСТ Р ИСО 7218-2008
ГОСТ Р ИСО 7218-2008
ГОСТ Р ИСО 7218-2008
ГОСТ Р ИСО 7218-2008
ГОСТ Р ИСО 7218-2008
ГОСТ Р ИСО 7218-2008
ГОСТ Р ИСО 7218-2008
ГОСТ Р ИСО 7218-2008
ГОСТ Р ИСО 7218-2008
ГОСТ Р ИСО 7218-2008
Автор: 
Домашняя страница автора: 

ГОСТ Р ИСО 7364-2009

E-mail автора: 

Суда и морские технологии. Механизмы палубные. Лебедки траповые

Обозначение: ГОСТ Р ИСО 7364-2009
Статус: действующий
Название рус.: Суда и морские технологии. Механизмы палубные. Лебедки траповые
Название англ.: Shipbuilding and marine structures. Deck machinery. Accommodation ladder winches
Дата актуализации текста: 19.06.2012
Дата актуализации описания: 19.06.2012
Дата введения в действие: 01.07.2010
Область и условия применения: Настоящий стандарт устанавливает требования и определяет характеристики судовых траповых лебедок с электрическим, гидравлическим или пневматическим приводами, предназначенных для работы при малых нагрузках, а также лебедок с ручным приводом.
Стандарт не устанавливает требований к механическому приводу лебедки


ГОСТ Р ИСО 7364-2009
ГОСТ Р ИСО 7364-2009
ГОСТ Р ИСО 7364-2009
ГОСТ Р ИСО 7364-2009
ГОСТ Р ИСО 7364-2009
ГОСТ Р ИСО 7364-2009
ГОСТ Р ИСО 7364-2009
ГОСТ Р ИСО 7364-2009
Автор: 
Домашняя страница автора: 

ГОСТ Р ИСО 8178-5-2009

E-mail автора: 

Двигатели внутреннего сгорания поршневые. Измерение выбросов вредных веществ. Часть 5. Топлива для испытаний

Обозначение: ГОСТ Р ИСО 8178-5-2009
Статус: действующий
Название рус.: Двигатели внутреннего сгорания поршневые. Измерение выбросов вредных веществ. Часть 5. Топлива для испытаний
Название англ.: Reciprocating internal combustion engines. Exhaust emission measurement - Part 5. Test fuels
Дата актуализации текста: 19.06.2012
Дата актуализации описания: 19.06.2012
Дата введения в действие: 01.01.2010
Область и условия применения: Настоящий стандарт распространяется на судовые, тепловозные и промышленные двигатели внутреннего сгорания поршневые и устанавливает эталонные виды топлива, рекомендуемые при проведении стендовых испытаний с целью измерения содержания вредных выбросов с отработавшими газами, регламентируемых ИСО 8178-1.
Допускается использовать промышленные топлива при испытаниях на содержание вредных выбросов с отработавшими газами.
Требования настоящего стандарта не распространяется на автомобильные, тракторные и авиационные двигатели


ГОСТ Р ИСО 8178-5-2009
ГОСТ Р ИСО 8178-5-2009
ГОСТ Р ИСО 8178-5-2009
ГОСТ Р ИСО 8178-5-2009
ГОСТ Р ИСО 8178-5-2009
ГОСТ Р ИСО 8178-5-2009
ГОСТ Р ИСО 8178-5-2009
ГОСТ Р ИСО 8178-5-2009
ГОСТ Р ИСО 8178-5-2009
ГОСТ Р ИСО 8178-5-2009
ГОСТ Р ИСО 8178-5-2009
ГОСТ Р ИСО 8178-5-2009
ГОСТ Р ИСО 8178-5-2009
ГОСТ Р ИСО 8178-5-2009
ГОСТ Р ИСО 8178-5-2009
ГОСТ Р ИСО 8178-5-2009
ГОСТ Р ИСО 8178-5-2009
ГОСТ Р ИСО 8178-5-2009
ГОСТ Р ИСО 8178-5-2009
ГОСТ Р ИСО 8178-5-2009
ГОСТ Р ИСО 8178-5-2009
ГОСТ Р ИСО 8178-5-2009
ГОСТ Р ИСО 8178-5-2009
ГОСТ Р ИСО 8178-5-2009
ГОСТ Р ИСО 8178-5-2009
ГОСТ Р ИСО 8178-5-2009
ГОСТ Р ИСО 8178-5-2009
ГОСТ Р ИСО 8178-5-2009
ГОСТ Р ИСО 8178-5-2009
ГОСТ Р ИСО 8178-5-2009
ГОСТ Р ИСО 8178-5-2009
Автор: 
Домашняя страница автора: 

ГОСТ Р ИСО 8588-2008

E-mail автора: 

Органолептический анализ. Методология. Испытания "А" - "Не А"

Обозначение: ГОСТ Р ИСО 8588-2008
Статус: действующий
Название рус.: Органолептический анализ. Методология. Испытания "А" - "Не А"
Название англ.: Sensory analysis. Methodology. "A" "not A" test
Дата актуализации текста: 19.06.2012
Дата актуализации описания: 19.06.2012
Дата введения в действие: 01.01.2010
Область и условия применения: Настоящий стандарт предназначен для применения во всех областях промышленности, где используют органолептическую оценку продуктов с помощью органов чувств, и описывает испытание “А“- “Не А“для использования в органолептическом анализе, как испытание на:
a) различие по внешнему виду или по остающемуся привкусу;
b) узнавание (например, распознавание качества сладкого вкуса нового подслащивающего средства);
c) восприятие для определения чувствительности эксперта к конкретному раздражителю


ГОСТ Р ИСО 8588-2008
ГОСТ Р ИСО 8588-2008
ГОСТ Р ИСО 8588-2008
ГОСТ Р ИСО 8588-2008
ГОСТ Р ИСО 8588-2008
ГОСТ Р ИСО 8588-2008
ГОСТ Р ИСО 8588-2008
ГОСТ Р ИСО 8588-2008
ГОСТ Р ИСО 8588-2008
ГОСТ Р ИСО 8588-2008
ГОСТ Р ИСО 8588-2008
ГОСТ Р ИСО 8588-2008
Автор: 
Домашняя страница автора: 

Страницы