Наша группа Вконтакте vk.com/4ertimcom

ГОСТ 6001-10000

ГОСТ Р ИСО 8586-1-2008

E-mail автора: 

Органолептический анализ. Общее руководство по отбору, обучению и контролю испытателей. Часть 1. Отобранные испытатели

Обозначение: ГОСТ Р ИСО 8586-1-2008
Статус: действующий
Название рус.: Органолептический анализ. Общее руководство по отбору, обучению и контролю испытателей. Часть 1. Отобранные испытатели
Название англ.: Sensory analysis. General guidance for the selection, training and monitoring of assessors. Part 1. Selected assessors
Дата актуализации текста: 19.06.2012
Дата актуализации описания: 19.06.2012
Дата введения в действие: 01.01.2010
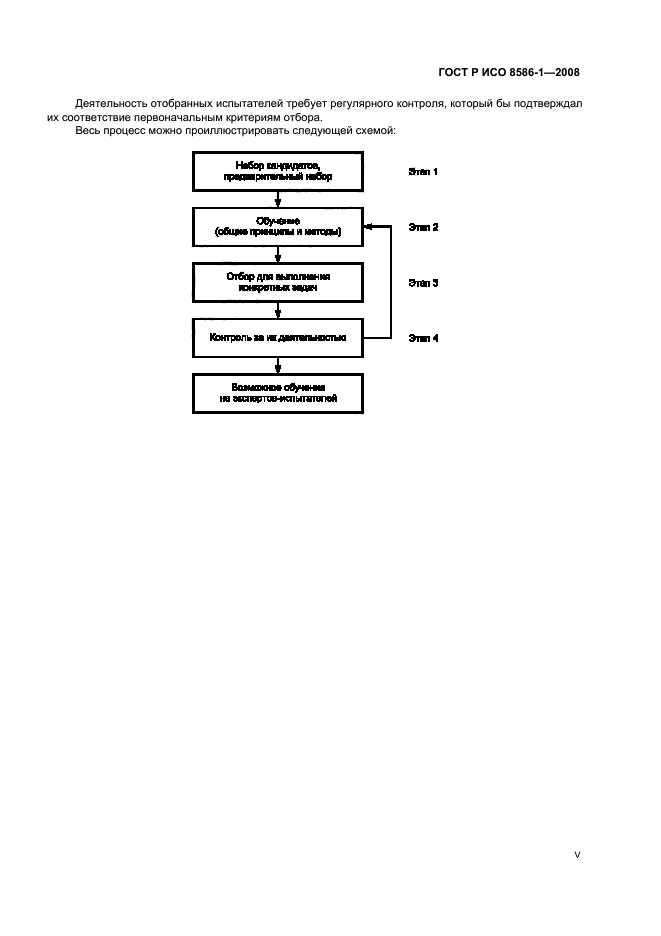
Область и условия применения: Настоящий стандарт предназначен для примененния во всех областях промышленности, в которых используют органолептическую оценку продуктов с помощью органов чувств, устанавливает критерии отбора испытателей и содержит описание процедуры обучения отобранных испытателей, а также контроля их деятельностью. Настоящий стандарт дополняет информацию, изложенную в ИСО 6658


ГОСТ Р ИСО 8586-1-2008
ГОСТ Р ИСО 8586-1-2008
ГОСТ Р ИСО 8586-1-2008
ГОСТ Р ИСО 8586-1-2008
ГОСТ Р ИСО 8586-1-2008
ГОСТ Р ИСО 8586-1-2008
ГОСТ Р ИСО 8586-1-2008
ГОСТ Р ИСО 8586-1-2008
ГОСТ Р ИСО 8586-1-2008
ГОСТ Р ИСО 8586-1-2008
ГОСТ Р ИСО 8586-1-2008
ГОСТ Р ИСО 8586-1-2008
ГОСТ Р ИСО 8586-1-2008
ГОСТ Р ИСО 8586-1-2008
ГОСТ Р ИСО 8586-1-2008
ГОСТ Р ИСО 8586-1-2008
ГОСТ Р ИСО 8586-1-2008
ГОСТ Р ИСО 8586-1-2008
ГОСТ Р ИСО 8586-1-2008
ГОСТ Р ИСО 8586-1-2008
ГОСТ Р ИСО 8586-1-2008
ГОСТ Р ИСО 8586-1-2008
ГОСТ Р ИСО 8586-1-2008
Автор: 
Домашняя страница автора: 

ГОСТ Р ИСО 8839-2009

E-mail автора: 

Механические свойства крепежных изделий. Болты, винты, шпильки и гайки из цветных металлов

Обозначение: ГОСТ Р ИСО 8839-2009
Статус: действующий
Название рус.: Механические свойства крепежных изделий. Болты, винты, шпильки и гайки из цветных металлов
Название англ.: Mechanical properties of fasteners – bolts, screws, studs and nuts made of non-ferrous metals
Дата актуализации текста: 19.06.2012
Дата актуализации описания: 19.06.2012
Дата введения в действие: 01.01.2011
Область и условия применения: Настоящий стандарт устанавливает механические свойства для болтов, винтов, шпилек и гаек:
- с номинальным диаметром резьбы d от M1,6 до M39 включительно;
- с метрической резьбой ИСО в соответствии с ИСО 261;
- изготовленные из меди и медных сплавов или алюминия и алюминиевых сплавов.
Стандарт не распространяется на болты, винты, шпильки и гайки со специальными требованиями к свойствам, такими как:
- коррозионная стойкость;
- электрическая проводимость


ГОСТ Р ИСО 8839-2009
ГОСТ Р ИСО 8839-2009
ГОСТ Р ИСО 8839-2009
ГОСТ Р ИСО 8839-2009
ГОСТ Р ИСО 8839-2009
ГОСТ Р ИСО 8839-2009
ГОСТ Р ИСО 8839-2009
ГОСТ Р ИСО 8839-2009
ГОСТ Р ИСО 8839-2009
ГОСТ Р ИСО 8839-2009
ГОСТ Р ИСО 8839-2009
ГОСТ Р ИСО 8839-2009
Автор: 
Домашняя страница автора: 

ГОСТ 7409-2009

E-mail автора: 

Вагоны грузовые. Требования к лакокрасочным покрытиям

Обозначение: ГОСТ 7409-2009
Статус: действующий
Название рус.: Вагоны грузовые. Требования к лакокрасочным покрытиям
Название англ.: Freight cars. Requirements to paint coatings
Дата актуализации текста: 19.06.2012
Дата актуализации описания: 19.06.2012
Дата введения в действие: 01.07.2010
Область и условия применения: Настоящий стандарт устанавливает технические требования к лакокрасочным покрытиям (защитным и декоративным) грузовых вагонов (крытых, полувагонов, платформ, думпкаров, цистерн для перевозки нефтепродуктов и сжиженных углеводородных газов, вагонов-минераловозов, вагонов-зерновозов, вагонов-цементовозов, вагонов для перевозки автомобилей), их деталей и сборочных единиц, в климатическом исполнении У, УХЛ для категорий размещения 1 и 2 по ГОСТ 15150
Взамен: ГОСТ 7409-90


ГОСТ 7409-2009
ГОСТ 7409-2009
ГОСТ 7409-2009
ГОСТ 7409-2009
ГОСТ 7409-2009
ГОСТ 7409-2009
ГОСТ 7409-2009
ГОСТ 7409-2009
ГОСТ 7409-2009
ГОСТ 7409-2009
ГОСТ 7409-2009
ГОСТ 7409-2009
ГОСТ 7409-2009
ГОСТ 7409-2009
ГОСТ 7409-2009
ГОСТ 7409-2009
ГОСТ 7409-2009
ГОСТ 7409-2009
ГОСТ 7409-2009
ГОСТ 7409-2009
ГОСТ 7409-2009
ГОСТ 7409-2009
ГОСТ 7409-2009
ГОСТ 7409-2009
ГОСТ 7409-2009
ГОСТ 7409-2009
ГОСТ 7409-2009
ГОСТ 7409-2009
ГОСТ 7409-2009
ГОСТ 7409-2009
ГОСТ 7409-2009
ГОСТ 7409-2009
ГОСТ 7409-2009
ГОСТ 7409-2009
ГОСТ 7409-2009
ГОСТ 7409-2009
ГОСТ 7409-2009
ГОСТ 7409-2009
ГОСТ 7409-2009
ГОСТ 7409-2009
ГОСТ 7409-2009
ГОСТ 7409-2009
ГОСТ 7409-2009
ГОСТ 7409-2009
ГОСТ 7409-2009
ГОСТ 7409-2009
ГОСТ 7409-2009
ГОСТ 7409-2009
Автор: 
Домашняя страница автора: 

ГОСТ 9980.5-2009

E-mail автора: 

Материалы лакокрасочные. Транспортирование и хранение

Обозначение: ГОСТ 9980.5-2009
Статус: действующий
Название рус.: Материалы лакокрасочные. Транспортирование и хранение
Название англ.: Paint materials. Transportation and storage
Дата актуализации текста: 19.06.2012
Дата актуализации описания: 19.06.2012
Дата введения в действие: 01.01.2011
Область и условия применения: Настоящий стандарт распространяется на лакокрасочные материалы и устанавливает требования к их транспортированию и хранению
Взамен: ГОСТ 9980.5-86


ГОСТ 9980.5-2009
ГОСТ 9980.5-2009
ГОСТ 9980.5-2009
ГОСТ 9980.5-2009
ГОСТ 9980.5-2009
ГОСТ 9980.5-2009
ГОСТ 9980.5-2009
ГОСТ 9980.5-2009
ГОСТ 9980.5-2009
ГОСТ 9980.5-2009
ГОСТ 9980.5-2009
ГОСТ 9980.5-2009
Автор: 
Домашняя страница автора: 

ГОСТ Р ИСО 7176-24-2009

E-mail автора: 

Кресла-коляски. Часть 24. Требования и методы испытаний устройств для преодоления лестниц, управляемых пользователем

Обозначение: ГОСТ Р ИСО 7176-24-2009
Статус: действующий
Название рус.: Кресла-коляски. Часть 24. Требования и методы испытаний устройств для преодоления лестниц, управляемых пользователем
Название англ.: Wheelchairs. Part 24: Requirements and test methods for user-operated stair-climbing devices
Дата актуализации текста: 19.06.2012
Дата актуализации описания: 19.06.2012
Дата введения в действие: 01.07.2010
Область и условия применения: Настоящий стандарт распространяется на управляемые пользователем устройства для преодоления лестниц, оснащенные креслом, и устройства для преодоления лестниц, перемещающие кресло-коляску, при этом устройство для преодоления лестниц движется вверх по лестнице задним ходом, а спуск с лестницы осуществляется передним ходом, и в обоих случаях пользователь обращен лицом вниз лестницы.
Настоящий стандарт устанавливает требования и методы испытаний устройств для преодоления лестниц с электроприводом, управляемых пользователем. В настоящий стандарт включены также эргономические требования, требования к документации и маркировке для обеспечения доступности информации.
Настоящий стандарт устанавливает испытания, демонстрирующие способность устройств для преодоления лестниц безопасно преодолевать лестницы с углом наклона 35 град. и более, если это заявлено изготовителем


ГОСТ Р ИСО 7176-24-2009
ГОСТ Р ИСО 7176-24-2009
ГОСТ Р ИСО 7176-24-2009
ГОСТ Р ИСО 7176-24-2009
ГОСТ Р ИСО 7176-24-2009
ГОСТ Р ИСО 7176-24-2009
ГОСТ Р ИСО 7176-24-2009
ГОСТ Р ИСО 7176-24-2009
ГОСТ Р ИСО 7176-24-2009
ГОСТ Р ИСО 7176-24-2009
ГОСТ Р ИСО 7176-24-2009
ГОСТ Р ИСО 7176-24-2009
ГОСТ Р ИСО 7176-24-2009
ГОСТ Р ИСО 7176-24-2009
ГОСТ Р ИСО 7176-24-2009
ГОСТ Р ИСО 7176-24-2009
ГОСТ Р ИСО 7176-24-2009
ГОСТ Р ИСО 7176-24-2009
ГОСТ Р ИСО 7176-24-2009
ГОСТ Р ИСО 7176-24-2009
ГОСТ Р ИСО 7176-24-2009
ГОСТ Р ИСО 7176-24-2009
ГОСТ Р ИСО 7176-24-2009
ГОСТ Р ИСО 7176-24-2009
ГОСТ Р ИСО 7176-24-2009
ГОСТ Р ИСО 7176-24-2009
ГОСТ Р ИСО 7176-24-2009
ГОСТ Р ИСО 7176-24-2009
ГОСТ Р ИСО 7176-24-2009
ГОСТ Р ИСО 7176-24-2009
ГОСТ Р ИСО 7176-24-2009
ГОСТ Р ИСО 7176-24-2009
ГОСТ Р ИСО 7176-24-2009
ГОСТ Р ИСО 7176-24-2009
ГОСТ Р ИСО 7176-24-2009
ГОСТ Р ИСО 7176-24-2009
ГОСТ Р ИСО 7176-24-2009
ГОСТ Р ИСО 7176-24-2009
ГОСТ Р ИСО 7176-24-2009
ГОСТ Р ИСО 7176-24-2009
ГОСТ Р ИСО 7176-24-2009
ГОСТ Р ИСО 7176-24-2009
ГОСТ Р ИСО 7176-24-2009
ГОСТ Р ИСО 7176-24-2009
ГОСТ Р ИСО 7176-24-2009
ГОСТ Р ИСО 7176-24-2009
ГОСТ Р ИСО 7176-24-2009
ГОСТ Р ИСО 7176-24-2009
ГОСТ Р ИСО 7176-24-2009
ГОСТ Р ИСО 7176-24-2009
ГОСТ Р ИСО 7176-24-2009
ГОСТ Р ИСО 7176-24-2009
ГОСТ Р ИСО 7176-24-2009
ГОСТ Р ИСО 7176-24-2009
ГОСТ Р ИСО 7176-24-2009
ГОСТ Р ИСО 7176-24-2009
ГОСТ Р ИСО 7176-24-2009
ГОСТ Р ИСО 7176-24-2009
ГОСТ Р ИСО 7176-24-2009
ГОСТ Р ИСО 7176-24-2009
ГОСТ Р ИСО 7176-24-2009
ГОСТ Р ИСО 7176-24-2009
ГОСТ Р ИСО 7176-24-2009
ГОСТ Р ИСО 7176-24-2009
ГОСТ Р ИСО 7176-24-2009
ГОСТ Р ИСО 7176-24-2009
ГОСТ Р ИСО 7176-24-2009
ГОСТ Р ИСО 7176-24-2009
ГОСТ Р ИСО 7176-24-2009
Автор: 
Домашняя страница автора: 

ГОСТ Р ИСО 9727-3-2010

E-mail автора: 

Пробки корковые цилиндрические. Методы определения физических свойств. Часть 3. Определение содержания влаги

Обозначение: ГОСТ Р ИСО 9727-3-2010
Статус: действующий
Название рус.: Пробки корковые цилиндрические. Методы определения физических свойств. Часть 3. Определение содержания влаги
Название англ.: Cylindrical cork stoppers. Methods for determination of physical properties. Part 3. Determination of humidity content
Дата актуализации текста: 19.06.2012
Дата актуализации описания: 19.06.2012
Дата введения в действие: 01.01.2011
Область и условия применения: Настоящий стандарт устанавливает методы определения содержания влаги в цилиндрических корковых пробках, готовых к использованию или в виде полуфабрикатов
Список изменений: №0 от 30.07.2010 (рег. 30.07.2010) «Дата введения перенесена»
Приложение №1: Поправка к ГОСТ Р ИСО 9727-3-2010


ГОСТ Р ИСО 9727-3-2010
ГОСТ Р ИСО 9727-3-2010
ГОСТ Р ИСО 9727-3-2010
ГОСТ Р ИСО 9727-3-2010
ГОСТ Р ИСО 9727-3-2010
ГОСТ Р ИСО 9727-3-2010
ГОСТ Р ИСО 9727-3-2010
ГОСТ Р ИСО 9727-3-2010


Поправка к ГОСТ Р ИСО 9727-3-2010

Обозначение: Поправка к ГОСТ Р ИСО 9727-3-2010
Дата введения в действие: 30.07.2010
Дата актуализации: 15.02.2011


Поправка к ГОСТ Р ИСО 9727-3-2010
Автор: 
Домашняя страница автора: 

ГОСТ Р ИСО 9058-2010

E-mail автора: 

Тара стеклянная. Бутылки. Допускаемые отклонения от номинальных размеров

Обозначение: ГОСТ Р ИСО 9058-2010
Статус: действующий
Название рус.: Тара стеклянная. Бутылки. Допускаемые отклонения от номинальных размеров
Название англ.: Glass containers. Bottles. Standard tolerances of nominal dimensions
Дата актуализации текста: 19.06.2012
Дата актуализации описания: 19.06.2012
Дата введения в действие: 01.01.2011
Область и условия применения: Настоящий стандарт устанавливает допускаемые отклонения от номинальных размеров для стеклянных бутылок круглого поперечного сечения номинальной вместимостью от 50 до 5000 мл
Взамен: ГОСТ Р ИСО 9058-99


ГОСТ Р ИСО 9058-2010
ГОСТ Р ИСО 9058-2010
ГОСТ Р ИСО 9058-2010
ГОСТ Р ИСО 9058-2010
ГОСТ Р ИСО 9058-2010
ГОСТ Р ИСО 9058-2010
ГОСТ Р ИСО 9058-2010
ГОСТ Р ИСО 9058-2010
Автор: 
Домашняя страница автора: 

ГОСТ Р ИСО 7864-2009

E-mail автора: 

Иглы инъекционные однократного применения стерильные

Обозначение: ГОСТ Р ИСО 7864-2009
Статус: действующий
Название рус.: Иглы инъекционные однократного применения стерильные
Название англ.: Sterile hypodermic needles for single use
Дата актуализации текста: 19.06.2012
Дата актуализации описания: 19.06.2012
Дата введения в действие: 01.09.2010
Область и условия применения: Настоящий стандарт устанавливает требования к инъекционным стерильным иглам однократного применения с номинальными наружными диаметрами от 0,3 до 1,2 мм.
Настоящий стандарт не распространяется на иглы, применяемые в стоматологии


ГОСТ Р ИСО 7864-2009
ГОСТ Р ИСО 7864-2009
ГОСТ Р ИСО 7864-2009
ГОСТ Р ИСО 7864-2009
ГОСТ Р ИСО 7864-2009
ГОСТ Р ИСО 7864-2009
ГОСТ Р ИСО 7864-2009
ГОСТ Р ИСО 7864-2009
ГОСТ Р ИСО 7864-2009
ГОСТ Р ИСО 7864-2009
ГОСТ Р ИСО 7864-2009
ГОСТ Р ИСО 7864-2009
ГОСТ Р ИСО 7864-2009
ГОСТ Р ИСО 7864-2009
ГОСТ Р ИСО 7864-2009
ГОСТ Р ИСО 7864-2009
Автор: 
Домашняя страница автора: 

ГОСТ Р ИСО 7619-2-2009

E-mail автора: 

Резина вулканизованная или термопластичная. Определение твердости при вдавливании.Часть 2. Метод измерения с применением карманного твердомера IRHD

Обозначение: ГОСТ Р ИСО 7619-2-2009
Статус: действующий
Название рус.: Резина вулканизованная или термопластичная. Определение твердости при вдавливании.Часть 2. Метод измерения с применением карманного твердомера IRHD
Название англ.: Rubber, vulcanized or thermoplastic. Determination of indentation hardness. Part 2. IRHD pocket meter method of measurement
Дата актуализации текста: 19.06.2012
Дата актуализации описания: 19.06.2012
Дата введения в действие: 01.01.2011
Область и условия применения: Настоящий стандарт устанавливает метод определения твердости при вдавливании вулканизированной или термопластичной резины с использованием карманного твердомера, калиброванного в единицах IRHD.
Такие твердомеры в первую очередь предназначены для научно-исследовательских работ. Для разработки нормативных документов применяют ИСО 48.
Прецизионность метода увеличивается при закреплении карманного твердомера на штативе (подставке)


ГОСТ Р ИСО 7619-2-2009
ГОСТ Р ИСО 7619-2-2009
ГОСТ Р ИСО 7619-2-2009
ГОСТ Р ИСО 7619-2-2009
ГОСТ Р ИСО 7619-2-2009
ГОСТ Р ИСО 7619-2-2009
ГОСТ Р ИСО 7619-2-2009
ГОСТ Р ИСО 7619-2-2009
Автор: 
Домашняя страница автора: 

ГОСТ Р ИСО 7619-1-2009

E-mail автора: 

Резина вулканизованная или термопластичная. Определение твердости при вдавливании. Часть 1. Метод с применением дюрометра (твердость по Шору)

Обозначение: ГОСТ Р ИСО 7619-1-2009
Статус: действующий
Название рус.: Резина вулканизованная или термопластичная. Определение твердости при вдавливании. Часть 1. Метод с применением дюрометра (твердость по Шору)
Название англ.: Rubber, vulcanized or thermoplastic. Determination of indentation hardness. Part 1. Durometer method of measurement (Shore hardness)
Дата актуализации текста: 19.06.2012
Дата актуализации описания: 19.06.2012
Дата введения в действие: 01.01.2011
Область и условия применения: Настоящий стандарт устанавливает метод определения твердости при вдавливании (твердость по Шору) вулканизованной или термопластичной резины с использованием дюрометров, имеющих шкалы следующих типов:
- А – для резин, имеющих твердость в диапазоне средних значений;
- D – для резин, имеющих твердость в диапазоне высоких значений;
- АО – для резин, имеющих твердость в диапазоне низких значений и для пористых резин;
- АМ – для тонких образцов резин, имеющих твердость в диапазоне средних значений


ГОСТ Р ИСО 7619-1-2009
ГОСТ Р ИСО 7619-1-2009
ГОСТ Р ИСО 7619-1-2009
ГОСТ Р ИСО 7619-1-2009
ГОСТ Р ИСО 7619-1-2009
ГОСТ Р ИСО 7619-1-2009
ГОСТ Р ИСО 7619-1-2009
ГОСТ Р ИСО 7619-1-2009
ГОСТ Р ИСО 7619-1-2009
ГОСТ Р ИСО 7619-1-2009
ГОСТ Р ИСО 7619-1-2009
ГОСТ Р ИСО 7619-1-2009
Автор: 
Домашняя страница автора: 

Страницы