Наша группа Вконтакте vk.com/4ertimcom

ГОСТ 6001-10000

ГОСТ 9396-88

E-mail автора: 

Ящики деревянные многооборотные. Общие технические условия

Обозначение: ГОСТ 9396-88
Статус: действующий
Название рус.: Ящики деревянные многооборотные. Общие технические условия
Название англ.: Returnable wooden boxes. General spcifications
Дата актуализации текста: 19.06.2012
Дата актуализации описания: 19.06.2012
Дата введения в действие: 01.01.1990
Область и условия применения: Настоящий стандарт распространяется на деревянные многооборотные неразборные, складные и разборные ящики, предназначенные для упаковывания, хранения и транспортирования продукции массой до 100 кг
Взамен: ГОСТ 9396-75 ГОСТ 9395-76


ГОСТ 9396-88
ГОСТ 9396-88
ГОСТ 9396-88
ГОСТ 9396-88
ГОСТ 9396-88
ГОСТ 9396-88
ГОСТ 9396-88
ГОСТ 9396-88
ГОСТ 9396-88
ГОСТ 9396-88
ГОСТ 9396-88
ГОСТ 9396-88
ГОСТ 9396-88
ГОСТ 9396-88
ГОСТ 9396-88
ГОСТ 9396-88
ГОСТ 9396-88
ГОСТ 9396-88
ГОСТ 9396-88
ГОСТ 9396-88
ГОСТ 9396-88
ГОСТ 9396-88
ГОСТ 9396-88
ГОСТ 9396-88
ГОСТ 9396-88
ГОСТ 9396-88
ГОСТ 9396-88
Автор: 
Домашняя страница автора: 

ГОСТ 7284-88

E-mail автора: 

Прессы гидравлические ковочные. Параметры и размеры. Нормы точности

Обозначение: ГОСТ 7284-88
Статус: действующий
Название рус.: Прессы гидравлические ковочные. Параметры и размеры. Нормы точности
Название англ.: Hydraulic forging presses. Parameters and dimensions. Norms of accuracy
Дата актуализации текста: 19.06.2012
Дата актуализации описания: 19.06.2012
Дата введения в действие: 01.07.1989
Область и условия применения: Настоящий стандарт распространяется на ковочные гидравлические прессы общего назначения колонной и рамной конструкции с верхним и нижним приводами, предназначенные для выполнения всех операций ковки из углеродистых, средне- и высоколегированных сталей и сплавов, в том числе и на прессы, предназначенные для работы в составе автоматизированных комплексов, изготавливаемые для нужд народного хозяйства и экспорта
Взамен: ГОСТ 7284-80 ГОСТ 16387-80


ГОСТ 7284-88
ГОСТ 7284-88
ГОСТ 7284-88
ГОСТ 7284-88
ГОСТ 7284-88
ГОСТ 7284-88
ГОСТ 7284-88
ГОСТ 7284-88
ГОСТ 7284-88
ГОСТ 7284-88
ГОСТ 7284-88
ГОСТ 7284-88
ГОСТ 7284-88
ГОСТ 7284-88
ГОСТ 7284-88
Автор: 
Домашняя страница автора: 

ГОСТ 6687.6-88

E-mail автора: 

Напитки безалкогольные, сиропы, квасы и напитки из хлебного сырья. Метод определения стойкости

Обозначение: ГОСТ 6687.6-88
Статус: действующий
Название рус.: Напитки безалкогольные, сиропы, квасы и напитки из хлебного сырья. Метод определения стойкости
Название англ.: Soft drinks, syrups, kvasses and corn drinks. Stability determination process
Дата актуализации текста: 19.06.2012
Дата актуализации описания: 19.06.2012
Дата введения в действие: 01.07.1989
Область и условия применения: Настоящий стандарт распространяется на безалкогольные напитки, сиропы, квасы и напитки из хлебного сырья и устанавливает метод определения их стойкости
Взамен: ГОСТ 6687.6-75


ГОСТ 6687.6-88
ГОСТ 6687.6-88
ГОСТ 6687.6-88
ГОСТ 6687.6-88
Автор: 
Домашняя страница автора: 

ГОСТ 9861-88

E-mail автора: 

Автоматы холодноштамповочные четырехпозиционные для крепежных изделий стержневого типа. Параметры и размеры. Нормы точности

Обозначение: ГОСТ 9861-88
Статус: действующий
Название рус.: Автоматы холодноштамповочные четырехпозиционные для крепежных изделий стержневого типа. Параметры и размеры. Нормы точности
Название англ.: Four-station cold-formers for timber articles of rod type. Parameters and dimensions norms of accuracy
Дата актуализации текста: 19.06.2012
Дата актуализации описания: 19.06.2012
Дата введения в действие: 01.07.1990
Область и условия применения: Настоящий стандарт распространяется на автоматы холодноштамповочные четырехпозиционные для крепежных изделий стержневого типа, предназначенные для изготовления болтов, винтов и других крепежных изделий стержневого типа из калиброванного металла с временным сопротивлением <=750 МПа, подготовленного для холодной штамповки, изготавливаемые для нужд народного хозяйства и экспорта
Взамен: ГОСТ 9861-83
Взамен в части: ГОСТ 12408-77 в части многопозиционных автоматов для крепежных изделий стержневого типа


ГОСТ 9861-88
ГОСТ 9861-88
ГОСТ 9861-88
ГОСТ 9861-88
ГОСТ 9861-88
ГОСТ 9861-88
ГОСТ 9861-88
ГОСТ 9861-88
ГОСТ 9861-88
ГОСТ 9861-88
ГОСТ 9861-88
ГОСТ 9861-88
ГОСТ 9861-88
ГОСТ 9861-88
ГОСТ 9861-88
ГОСТ 9861-88
ГОСТ 9861-88
ГОСТ 9861-88
ГОСТ 9861-88
ГОСТ 9861-88
ГОСТ 9861-88
ГОСТ 9861-88
ГОСТ 9861-88
Автор: 
Домашняя страница автора: 

ГОСТ 9966-88

E-mail автора: 

Триэтиламин технический. Технические условия

Обозначение: ГОСТ 9966-88
Статус: действующий
Название рус.: Триэтиламин технический. Технические условия
Название англ.: Technical triethylamine. Specifications
Дата актуализации текста: 19.06.2012
Дата актуализации описания: 19.06.2012
Дата введения в действие: 01.07.1989
Область и условия применения: Настоящий стандарт распространяется на технический триэтиламин, получаемый в процессе этилирования аммиака этиловым спиртом и другими этилирующими агентами. Технический триэтиламин - бесцветная подвижная жидкость со специфическим запахом. Температура кипения триэтиламина при давлении 101,3 кПа (760мм. рт. ст.) - 89,4 град. C. Технический триэтиламин предназначен для использования в промышленности органического синтеза, для изготовления фармацевтических препаратов, в антикоррозионных рецептурах
Взамен: ГОСТ 9966-73


ГОСТ 9966-88
ГОСТ 9966-88
ГОСТ 9966-88
ГОСТ 9966-88
ГОСТ 9966-88
ГОСТ 9966-88
ГОСТ 9966-88
ГОСТ 9966-88
Автор: 
Домашняя страница автора: 

ГОСТ 9753-88

E-mail автора: 

Прессы гидравлические одностоечные. Параметры и размеры. Нормы точности

Обозначение: ГОСТ 9753-88
Статус: действующий
Название рус.: Прессы гидравлические одностоечные. Параметры и размеры. Нормы точности
Название англ.: Hydraulic gap presses. Parameters and dimensions. Norms of accuracy
Дата актуализации текста: 19.06.2012
Дата актуализации описания: 19.06.2012
Дата введения в действие: 01.07.1989
Область и условия применения: Настоящий стандарт распространяется на одностоечные гидравлические прессы, предназначенные для запрессовки, правки, гибки, вытяжки и других работ, изготовляемые для нужд народного хозяйства и экспорта
Взамен: ГОСТ 9753-81 ГОСТ 10233-75
Список изменений: №1 от 01.09.1991 (рег. 20.03.1991) «Срок действия продлен»


ГОСТ 9753-88
ГОСТ 9753-88
ГОСТ 9753-88
ГОСТ 9753-88
ГОСТ 9753-88
ГОСТ 9753-88
ГОСТ 9753-88
ГОСТ 9753-88
Автор: 
Домашняя страница автора: 

ГОСТ 7754-89

E-mail автора: 

Сланцы горючие Прибалтийского бассейна. Технические условия

Обозначение: ГОСТ 7754-89
Статус: действующий
Название рус.: Сланцы горючие Прибалтийского бассейна. Технические условия
Название англ.: Combustible shales of Baltic Basin. Specifications
Дата актуализации текста: 19.06.2012
Дата актуализации описания: 19.06.2012
Дата введения в действие: 01.01.1991
Область и условия применения: Настоящий стандарт распространяется на горючие сланцы Прибалтийского бассейна
Взамен: ГОСТ 7753-80 ГОСТ 7754-84 ГОСТ 7755-77 ГОСТ 20442-75


ГОСТ 7754-89
ГОСТ 7754-89
ГОСТ 7754-89
ГОСТ 7754-89
ГОСТ 7754-89
Автор: 
Домашняя страница автора: 

ГОСТ 9480-89

E-mail автора: 

Плиты облицовочные пиленые из природного камня. Технические условия

Обозначение: ГОСТ 9480-89
Статус: действующий
Название рус.: Плиты облицовочные пиленые из природного камня. Технические условия
Название англ.: Sawn facing slabs of stone. Specifications
Дата актуализации текста: 19.06.2012
Дата актуализации описания: 19.06.2012
Дата введения в действие: 01.01.1990
Область и условия применения: Настоящий стандарт распространяется на облицовочные плиты, изготовляемые распиливанием блоков из природного камня по ГОСТ 9479 и предназначаемые для наружной и внутренней облицовки элементов зданий и сооружений
Взамен: ГОСТ 9480-77


ГОСТ 9480-89
ГОСТ 9480-89
ГОСТ 9480-89
ГОСТ 9480-89
ГОСТ 9480-89
ГОСТ 9480-89
ГОСТ 9480-89
Автор: 
Домашняя страница автора: 

ГОСТ 7505-89

E-mail автора: 

Поковки стальные штампованные. Допуски, припуски и кузнечные напуски

Обозначение: ГОСТ 7505-89
Статус: действующий
Название рус.: Поковки стальные штампованные. Допуски, припуски и кузнечные напуски
Название англ.: Steel stamping forgings. Tolerances, allowances and forging laps
Дата актуализации текста: 19.06.2012
Дата актуализации описания: 19.06.2012
Дата введения в действие: 01.07.1990
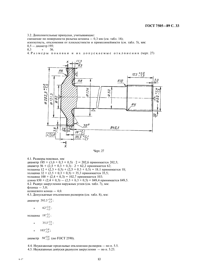
Область и условия применения: Настоящий стандарт распространяется на стальные штампованные поковки массой не более 250 кг и (или) с линейным габаритным размером не более 2500 мм, изготовленные горячей объемной штамповкой.
Стандарт устанавливает наибольшие величины допуска размеров, отклонений формы, припусков, кузнечных напусков и наименьшие радиусы закругления наружных углов
Взамен: ГОСТ 7505-74


ГОСТ 7505-89
ГОСТ 7505-89
ГОСТ 7505-89
ГОСТ 7505-89
ГОСТ 7505-89
ГОСТ 7505-89
ГОСТ 7505-89
ГОСТ 7505-89
ГОСТ 7505-89
ГОСТ 7505-89
ГОСТ 7505-89
ГОСТ 7505-89
ГОСТ 7505-89
ГОСТ 7505-89
ГОСТ 7505-89
ГОСТ 7505-89
ГОСТ 7505-89
ГОСТ 7505-89
ГОСТ 7505-89
ГОСТ 7505-89
ГОСТ 7505-89
ГОСТ 7505-89
ГОСТ 7505-89
ГОСТ 7505-89
ГОСТ 7505-89
ГОСТ 7505-89
ГОСТ 7505-89
ГОСТ 7505-89
ГОСТ 7505-89
ГОСТ 7505-89
ГОСТ 7505-89
ГОСТ 7505-89
ГОСТ 7505-89
ГОСТ 7505-89
ГОСТ 7505-89
ГОСТ 7505-89
Автор: 
Домашняя страница автора: 

ГОСТ 8867-89

E-mail автора: 

Калибры для замковой резьбы. Виды. Основные размеры и допуски

Обозначение: ГОСТ 8867-89
Статус: действующий
Название рус.: Калибры для замковой резьбы. Виды. Основные размеры и допуски
Название англ.: Gauges for tool joints thread. Types. Basic dimensions and tolerances
Дата актуализации текста: 19.06.2012
Дата актуализации описания: 19.06.2012
Дата введения в действие: 01.01.1990
Область и условия применения: Настоящий стандарт распространяется на резьбовые калибры для контроля натяга замковой резьбы (правой и левой) элементов бурильных колонн (муфт и ниппелей)
Взамен: ГОСТ 8867-77
Список изменений: №1 от 01.01.1993 (рег. 29.06.1992) «Срок действия продлен»


ГОСТ 8867-89
ГОСТ 8867-89
ГОСТ 8867-89
ГОСТ 8867-89
ГОСТ 8867-89
ГОСТ 8867-89
ГОСТ 8867-89
ГОСТ 8867-89
ГОСТ 8867-89
ГОСТ 8867-89
Автор: 
Домашняя страница автора: 

Страницы