Наша группа Вконтакте vk.com/4ertimcom

ГОСТ 6001-10000

ГОСТ 6433.6-84

E-mail автора: 

Материалы электроизоляционные. Методы определения ионных примесей путем экстрагирования

Обозначение: ГОСТ 6433.6-84
Статус: действующий
Название рус.: Материалы электроизоляционные. Методы определения ионных примесей путем экстрагирования
Название англ.: Electrical insulating materials. Methods for determination of ionic foreign matters by extraction
Дата актуализации текста: 19.06.2012
Дата актуализации описания: 19.06.2012
Дата введения в действие: 01.01.1985
Область и условия применения: Настоящий стандарт устанавливает методы определения ионных примесей путем экстрагирования электроизоляционных материалов, предназначенных для работы в охлаждающих или пропитывающих составах с органическим и (или) неорганическим соединением.
Метод основан на определении объемной проводимости жидкого экстракта в зависимости от присутствия в нем растворимых органических и (или) неорганических соединений
Список изменений: №1 от 01.10.1990 (рег. 24.04.1990) «Срок действия продлен»


ГОСТ 6433.6-84
ГОСТ 6433.6-84
ГОСТ 6433.6-84
ГОСТ 6433.6-84
ГОСТ 6433.6-84
ГОСТ 6433.6-84
ГОСТ 6433.6-84
ГОСТ 6433.6-84
ГОСТ 6433.6-84
Автор: 
Домашняя страница автора: 

ГОСТ 8292-85

E-mail автора: 

Краски масляные цветные густотертые. Технические условия

Обозначение: ГОСТ 8292-85
Статус: действующий
Название рус.: Краски масляные цветные густотертые. Технические условия
Название англ.: Oil and paste colour paints. Specifications
Дата актуализации текста: 19.06.2012
Дата актуализации описания: 19.06.2012
Дата введения в действие: 01.01.1987
Область и условия применения: Настоящий стандарт распространяется на густотертые масляные цветные краски, представляющие собой пасту, состоящую из пигментов и наполнителей или соответствующего пигмента (сурик железный по ГОСТ 8135-74, мумия, охра), затертых на олифе с введением сиккатива или без него. Краски после разведения олифой до малярной консистенции предназначаются для отделочных работ и для окрашивания металлических и деревянных изделий, эксплуатируемых внутри помещений и в атмосферных условиях в районах с умеренным климатом. Покрытия густотертыми масляными цветными красками, предназначенными для эксплуатации в атмосферных условиях, в два слоя по металлу сохраняют защитные свойства в умеренном климате в течение 1,5 до балла не более А32. Защитные свойства оцениваются по ГОСТ 9.407-84. Краски наносят на поверхность кистью, валиком или методом пневматического распыления
Взамен: ГОСТ 695-77 ГОСТ 8292-75 ГОСТ 8866-76
Список изменений: №1 от 01.07.1992 (рег. 27.12.1991) «Срок действия продлен»


ГОСТ 8292-85
ГОСТ 8292-85
ГОСТ 8292-85
ГОСТ 8292-85
ГОСТ 8292-85
ГОСТ 8292-85
ГОСТ 8292-85
ГОСТ 8292-85
ГОСТ 8292-85
ГОСТ 8292-85
ГОСТ 8292-85
ГОСТ 8292-85
ГОСТ 8292-85
ГОСТ 8292-85
ГОСТ 8292-85
ГОСТ 8292-85
Автор: 
Домашняя страница автора: 

ГОСТ 8823-85

E-mail автора: 

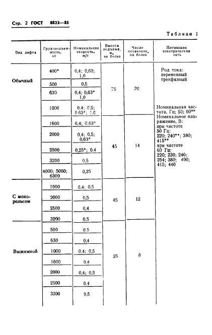
Лифты электрические грузовые. Основные параметры и размеры

Обозначение: ГОСТ 8823-85
Статус: утратил силу в РФ
Название рус.: Лифты электрические грузовые. Основные параметры и размеры
Название англ.: Electric goods lifts. Basis parameters and dimensions
Дата актуализации текста: 19.06.2012
Дата актуализации описания: 19.06.2012
Дата введения в действие: 01.01.1986
Область и условия применения: Настоящий стандарт распространяется на электрические грузовые лифты общего назначения: обычные, с монорельсом, выжимные и тротуарные, устанавливаемые в общественных зданиях и зданиях промышленных предприятий
Взамен: ГОСТ 8823-67 ГОСТ 9322-67 ГОСТ 13415-67 ГОСТ 13416-67
Список изменений: №0 от 01.06.2010 (рег. 11.02.2010) «Поправка к изменению»


ГОСТ 8823-85
ГОСТ 8823-85
ГОСТ 8823-85
ГОСТ 8823-85
ГОСТ 8823-85
ГОСТ 8823-85
ГОСТ 8823-85
ГОСТ 8823-85
ГОСТ 8823-85
ГОСТ 8823-85
ГОСТ 8823-85
ГОСТ 8823-85
ГОСТ 8823-85
ГОСТ 8823-85
ГОСТ 8823-85
ГОСТ 8823-85
ГОСТ 8823-85
ГОСТ 8823-85
ГОСТ 8823-85
ГОСТ 8823-85
ГОСТ 8823-85
ГОСТ 8823-85
ГОСТ 8823-85
ГОСТ 8823-85
Автор: 
Домашняя страница автора: 

ГОСТ 8320.11-83

E-mail автора: 

Профили периодические поперечно-винтовой прокатки для вала револьверной головки станка модели 1341. Сортамент

Обозначение: ГОСТ 8320.11-83
Статус: действующий
Название рус.: Профили периодические поперечно-винтовой прокатки для вала револьверной головки станка модели 1341. Сортамент
Название англ.: Periodic sections produced by cross-helical rolling for turret shaft of lathe, Model 1341. Dimensions
Дата актуализации текста: 19.06.2012
Дата актуализации описания: 19.06.2012
Дата введения в действие: 01.01.1985
Область и условия применения: Настоящий стандарт распространяется на горячекатаные круглые периодические профили для вала револьверной головки станка модели 1341, изготовляемые поперечно-винтовой прокаткой
Взамен: ГОСТ 8320.11-73


ГОСТ 8320.11-83
Автор: 
Домашняя страница автора: 

ГОСТ 7500-85

E-mail автора: 

Бумага и картон. Методы определения состава по волокну

Обозначение: ГОСТ 7500-85
Статус: действующий
Название рус.: Бумага и картон. Методы определения состава по волокну
Название англ.: Paper and cardboard. Methods of determination of fibrous composition
Дата актуализации текста: 19.06.2012
Дата актуализации описания: 19.06.2012
Дата введения в действие: 01.01.1987
Область и условия применения: Настоящий стандарт распросраняется на бумагу и картон из природных и химических волокон, изготовляемых различными способами производства
Взамен: ГОСТ 7500-75


ГОСТ 7500-85
ГОСТ 7500-85
ГОСТ 7500-85
ГОСТ 7500-85
ГОСТ 7500-85
ГОСТ 7500-85
ГОСТ 7500-85
ГОСТ 7500-85
ГОСТ 7500-85
ГОСТ 7500-85
ГОСТ 7500-85
ГОСТ 7500-85
ГОСТ 7500-85
ГОСТ 7500-85
ГОСТ 7500-85
ГОСТ 7500-85
ГОСТ 7500-85
ГОСТ 7500-85
ГОСТ 7500-85
ГОСТ 7500-85
ГОСТ 7500-85
ГОСТ 7500-85
ГОСТ 7500-85
ГОСТ 7500-85
ГОСТ 7500-85
ГОСТ 7500-85
ГОСТ 7500-85
ГОСТ 7500-85
ГОСТ 7500-85
ГОСТ 7500-85
ГОСТ 7500-85
ГОСТ 7500-85
ГОСТ 7500-85
ГОСТ 7500-85
ГОСТ 7500-85
ГОСТ 7500-85
ГОСТ 7500-85
ГОСТ 7500-85
ГОСТ 7500-85
ГОСТ 7500-85
ГОСТ 7500-85
ГОСТ 7500-85
ГОСТ 7500-85
ГОСТ 7500-85
ГОСТ 7500-85
ГОСТ 7500-85
ГОСТ 7500-85
ГОСТ 7500-85
ГОСТ 7500-85
ГОСТ 7500-85
ГОСТ 7500-85
ГОСТ 7500-85
ГОСТ 7500-85
ГОСТ 7500-85
ГОСТ 7500-85
Автор: 
Домашняя страница автора: 

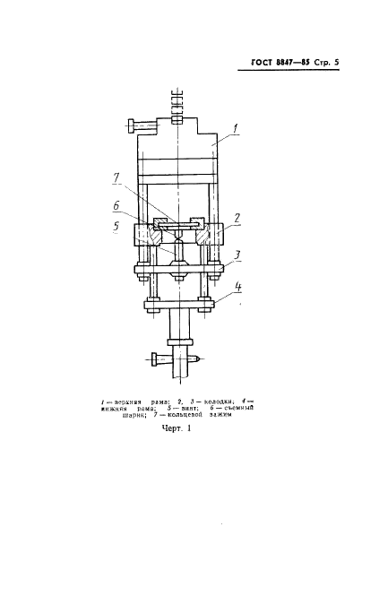
ГОСТ 8847-85

E-mail автора: 

Полотна трикотажные. Методы определения разрывных характеристик и растяжимости при нагрузках, меньше разрывных

Обозначение: ГОСТ 8847-85
Статус: действующий
Название рус.: Полотна трикотажные. Методы определения разрывных характеристик и растяжимости при нагрузках, меньше разрывных
Название англ.: Knitted fabrics. Methods for determination of breaking characteristics and extensibility under loads less than breaking loads
Дата актуализации текста: 19.06.2012
Дата актуализации описания: 19.06.2012
Дата введения в действие: 01.01.1987
Область и условия применения: Настоящий стандарт распространяется на отделанные трикотажные полотна и искусственный трикотажный мех бытового и технического назначения, на суровые товарные полотна из всех видов пряжи и нитей и устанавливает методы определения: разрывных характеристик при разрыве полотна; разрывных характеристик при продавливании полотна шариком (кроме искусственного трикотажного меха); растяжимости при нагрузках, меньше разрывных, и необратимой деформации.
Стандарт не распространяется: на трикотажные полотна с эффектом “плиссе“и “гофре“; на трикотажные основовязаные полотна с применением полиуретановых эластомерных нитей в части определения растяжимости при нагрузках, меньше разрывных
Взамен: ГОСТ 8847-75
Заменяющий в части: ГОСТ 28239-89 разд. 4 в части метода определения необратимой деформации
Список изменений: №1 от 01.01.1990 (рег. 19.06.1989) «Срок действия продлен»


ГОСТ 8847-85
ГОСТ 8847-85
ГОСТ 8847-85
ГОСТ 8847-85
ГОСТ 8847-85
ГОСТ 8847-85
ГОСТ 8847-85
ГОСТ 8847-85
ГОСТ 8847-85
ГОСТ 8847-85
ГОСТ 8847-85
ГОСТ 8847-85
ГОСТ 8847-85
ГОСТ 8847-85
ГОСТ 8847-85
ГОСТ 8847-85
ГОСТ 8847-85
ГОСТ 8847-85
ГОСТ 8847-85
ГОСТ 8847-85
ГОСТ 8847-85
ГОСТ 8847-85
Автор: 
Домашняя страница автора: 

ГОСТ 6939-85

E-mail автора: 

Плуги болотные и кустарниково-болотные. Общие технические условия

Обозначение: ГОСТ 6939-85
Статус: действует только в РФ
Название рус.: Плуги болотные и кустарниково-болотные. Общие технические условия
Название англ.: Boe and brush-bog ploughs. General specifications
Дата актуализации текста: 19.06.2012
Дата актуализации описания: 19.06.2012
Дата введения в действие: 01.01.1987
Область и условия применения: Настоящий стандарт распространяется на болотные плуги, предназначенные для вспашки торфяных и минеральных земель, и кустарниково-болотные плуги, предназначенные для первичной вспашки торфяных и минеральных земель после удаления крупного кустарника и мелколесья корчевателями и кусторезами
Взамен: ГОСТ 6939-71


ГОСТ 6939-85
ГОСТ 6939-85
ГОСТ 6939-85
ГОСТ 6939-85
ГОСТ 6939-85
ГОСТ 6939-85
ГОСТ 6939-85
ГОСТ 6939-85
Автор: 
Домашняя страница автора: 

ГОСТ 8136-85

E-mail автора: 

Оксид алюминия активный. Технические условия

Обозначение: ГОСТ 8136-85
Статус: действующий
Название рус.: Оксид алюминия активный. Технические условия
Название англ.: Active alumina. Specifications
Дата актуализации текста: 19.06.2012
Дата актуализации описания: 19.06.2012
Дата введения в действие: 01.07.1986
Область и условия применения: Настоящий стандарт распространяется на активный оксид алюминия гамма-модификации в виде цилиндрических гранул, применяемый в качестве носителя катализаторов, катализаторов, сырья для производства смешанных катализаторов, осушителя в различных процессах химических, нефтехимических производств и др.
Взамен: ГОСТ 8136-76
Список изменений: №1 от 01.06.1989 (рег. 21.11.1988) «Срок действия продлен»


ГОСТ 8136-85
ГОСТ 8136-85
ГОСТ 8136-85
ГОСТ 8136-85
ГОСТ 8136-85
ГОСТ 8136-85
ГОСТ 8136-85
ГОСТ 8136-85
ГОСТ 8136-85
ГОСТ 8136-85
Автор: 
Домашняя страница автора: 

ГОСТ 9438-85

E-mail автора: 

Пленка поливинилбутиральная клеящая. Технические условия

Обозначение: ГОСТ 9438-85
Статус: действующий
Название рус.: Пленка поливинилбутиральная клеящая. Технические условия
Название англ.: Polyvinylbutyral adhesive film. Specifications
Дата актуализации текста: 19.06.2012
Дата актуализации описания: 19.06.2012
Дата введения в действие: 01.01.1986
Область и условия применения: Настоящий стандарт распространяется на клеящую поливинилбутиральную пленку, изготовленную из пластифицированного и непластифицированного поливинилбутираля, которая применяется при изготовлении безосколочных стекол
Взамен: ГОСТ 9438-73


ГОСТ 9438-85
ГОСТ 9438-85
ГОСТ 9438-85
ГОСТ 9438-85
ГОСТ 9438-85
ГОСТ 9438-85
ГОСТ 9438-85
ГОСТ 9438-85
ГОСТ 9438-85
ГОСТ 9438-85
ГОСТ 9438-85
ГОСТ 9438-85
ГОСТ 9438-85
ГОСТ 9438-85
ГОСТ 9438-85
ГОСТ 9438-85
ГОСТ 9438-85
ГОСТ 9438-85
ГОСТ 9438-85
ГОСТ 9438-85
ГОСТ 9438-85
ГОСТ 9438-85
ГОСТ 9438-85
ГОСТ 9438-85
ГОСТ 9438-85
ГОСТ 9438-85
Автор: 
Домашняя страница автора: 

ГОСТ 9818-85

E-mail автора: 

Марши и площадки лестниц железобетонные. Технические условия

Обозначение: ГОСТ 9818-85
Статус: действующий
Название рус.: Марши и площадки лестниц железобетонные. Технические условия
Название англ.: Reinforced concrete flights of steps and stair landings. Specification
Дата актуализации текста: 19.06.2012
Дата актуализации описания: 19.06.2012
Дата введения в действие: 01.01.1986
Область и условия применения: Настоящий стандарт распространяется на железобетонные марши, площадки и накладные проступи, изготовляемые из тяжелого бетона или легкого бетона (средней плотности от 1600 до 2000 кг/куб. м включительно) и предназначенные для устройства лестниц в зданиях различного назначения.
Стандарт не распространяется на элементы лестниц зданий с расчетной сейсмичностью 7 баллов и выше
Взамен: ГОСТ 9818.0-81
Список изменений: №1 от 15.01.1988 (рег. 14.01.1988) «Срок действия продлен»


ГОСТ 9818-85
ГОСТ 9818-85
ГОСТ 9818-85
ГОСТ 9818-85
ГОСТ 9818-85
ГОСТ 9818-85
ГОСТ 9818-85
ГОСТ 9818-85
ГОСТ 9818-85
ГОСТ 9818-85
ГОСТ 9818-85
ГОСТ 9818-85
ГОСТ 9818-85
ГОСТ 9818-85
ГОСТ 9818-85
ГОСТ 9818-85
ГОСТ 9818-85
ГОСТ 9818-85
ГОСТ 9818-85
ГОСТ 9818-85
ГОСТ 9818-85
ГОСТ 9818-85
ГОСТ 9818-85
Автор: 
Домашняя страница автора: 

Страницы