Наша группа Вконтакте vk.com/4ertimcom

ГОСТ 6001-10000

ГОСТ 8942-85

E-mail автора: 

Лента бумажная рулонная для печатающих устройств. Технические условия

Обозначение: ГОСТ 8942-85
Статус: действующий
Название рус.: Лента бумажная рулонная для печатающих устройств. Технические условия
Название англ.: Roll paper tape for printers. Specifications
Дата актуализации текста: 19.06.2012
Дата актуализации описания: 19.06.2012
Дата введения в действие: 01.07.1986
Область и условия применения: Настоящий стандарт распространяется на рулонную бумажную ленту без транспортных отверстий (далее - ленту), предназначенную для использования в качестве носителя информации в печатающих устройствах вычислительных машин и систем обработки данных, условия эксплуатации которых соответствуют требованиям ГОСТ 21552
Взамен: ГОСТ 8942-78
Список изменений: №1 от 01.07.1991 (рег. 27.12.1990) «Срок действия продлен»


ГОСТ 8942-85
ГОСТ 8942-85
ГОСТ 8942-85
ГОСТ 8942-85
ГОСТ 8942-85
ГОСТ 8942-85
Автор: 
Домашняя страница автора: 

ГОСТ 8740-85

E-mail автора: 

Картон облицовочный. Технические условия

Обозначение: ГОСТ 8740-85
Статус: действующий
Название рус.: Картон облицовочный. Технические условия
Название англ.: Linerboard. Specifications
Дата актуализации текста: 19.06.2012
Дата актуализации описания: 19.06.2012
Дата введения в действие: 01.01.1987
Область и условия применения: Настоящий стандарт распространяется на картон, применяемый в качестве облицовочного слоя при изготовлении гипсокартонных листов
Взамен: ГОСТ 8740-74
Список изменений: №1 от 01.05.1990 (рег. 15.11.1989) «Срок действия продлен»
№2 от 01.03.1991 (рег. 23.07.1990) «Срок действия продлен»


ГОСТ 8740-85
ГОСТ 8740-85
ГОСТ 8740-85
ГОСТ 8740-85
Автор: 
Домашняя страница автора: 

ГОСТ 7293-85

E-mail автора: 

Чугун с шаровидным графитом для отливок. Марки

Обозначение: ГОСТ 7293-85
Статус: действующий
Название рус.: Чугун с шаровидным графитом для отливок. Марки
Название англ.: Spheroidal graphite iron for castings. Grades
Дата актуализации текста: 19.06.2012
Дата актуализации описания: 19.06.2012
Дата введения в действие: 01.01.1987
Область и условия применения: Настоящий стандарт распространяется на чугун для отливок, имеющий в структуре графит шаровидной или вермикулярной формы, и устанавливает марки чугуна, определяемые на основе механических свойств
Взамен в части: ГОСТ 7293-79 в части марок чугуна


ГОСТ 7293-85
ГОСТ 7293-85
ГОСТ 7293-85
Автор: 
Домашняя страница автора: 

ГОСТ 8489-85

E-mail автора: 

Топливо моторное. Метод определения фактических смол (по Бударову)

Обозначение: ГОСТ 8489-85
Статус: действующий
Название рус.: Топливо моторное. Метод определения фактических смол (по Бударову)
Название англ.: Motor fuel. Method for determination of existent gums (Budarov's)
Дата актуализации текста: 19.06.2012
Дата актуализации описания: 19.06.2012
Дата введения в действие: 01.07.1986
Область и условия применения: Настоящий стандарт устанавливает метод определения фактических смол в моторном топливе (керосине, дизельном топливе).
Метод заключается в выпаривании испытуемого топлива под струей водяного пара в условиях испытания и служит для условной оценки склонности топлива к смолообразованию при его применении в двигателе
Взамен: ГОСТ 8489-58
Список изменений: №0 от 28.03.1988 (рег. 28.03.1988) «Срок действия продлен»


ГОСТ 8489-85
ГОСТ 8489-85
ГОСТ 8489-85
ГОСТ 8489-85
Автор: 
Домашняя страница автора: 

ГОСТ 7631-85

E-mail автора: 

Рыба, морские млекопитающие, морские беспозвоночные и продукты их переработки. Правила приемки, органолептические методы оценки качества, методы отбора проб для лабораторных испытаний

Обозначение: ГОСТ 7631-85
Статус: заменён
Название рус.: Рыба, морские млекопитающие, морские беспозвоночные и продукты их переработки. Правила приемки, органолептические методы оценки качества, методы отбора проб для лабораторных испытаний
Название англ.: Fish and products made of fish, marine mammals and invertebrates. Reception rules. Methods for determination of organolepric characteristics. Sampling methods for laboratory tests
Дата актуализации текста: 19.06.2012
Дата актуализации описания: 19.06.2012
Дата введения в действие: 01.01.1986
Область и условия применения: Настоящий стандарт распространяется на рыбу, морских млекопитающих, морских беспозвоночных и продукты, вырабатываемые из них.
Стандарт не распространяется на консервы и пресервы, сухие супы, а также на кожевенное, меховое и техническое сырье из морских млекопитающих. Стандарт устанавливает правила приемки по качеству и количеству, органолептические методы оценки качества и методы отбора проб для лабораторных испытаний
Взамен: ГОСТ 7631-73
Взамен в части: ГОСТ 8714-72 в части правил приемки и методов отбора проб
Заменяющий в части: ГОСТ 31339-2006 в части правил приемки и методов отбора проб; ГОСТ 7631-2008 в части определения органолептических и физических показателей, кроме части правил приемки и методов отбора проб
Список изменений: №1 от 01.11.1988 (рег. 27.04.1988) «Срок действия продлен»
№2 от 01.05.1990 (рег. 25.10.1989) «Срок действия продлен»


ГОСТ 7631-85
ГОСТ 7631-85
ГОСТ 7631-85
ГОСТ 7631-85
ГОСТ 7631-85
ГОСТ 7631-85
ГОСТ 7631-85
ГОСТ 7631-85
ГОСТ 7631-85
ГОСТ 7631-85
ГОСТ 7631-85
ГОСТ 7631-85
ГОСТ 7631-85
ГОСТ 7631-85
ГОСТ 7631-85
ГОСТ 7631-85
Автор: 
Домашняя страница автора: 

ГОСТ 7616-85

E-mail автора: 

Сыры сычужные твердые. Технические условия

Обозначение: ГОСТ 7616-85
Статус: утратил силу в РФ
Название рус.: Сыры сычужные твердые. Технические условия
Название англ.: Hard rennet cheeses. Specifications
Дата актуализации текста: 19.06.2012
Дата актуализации описания: 19.06.2012
Дата введения в действие: 01.07.1986
Область и условия применения: Настоящий стандарт распространяется на твердые сычужные сыры, вырабатываемые из коровьего молока
Взамен: ГОСТ 7616-55 ГОСТ 13057-67
Список изменений: №0 от 01.01.2010 (рег. 13.10.2008) «Поправка к изменению»
№1 от 01.07.1986 (рег. 27.02.1986) «Срок действия продлен»
№2 от 10.05.1987 (рег. 18.05.1987) «Срок действия продлен»
№3 от 01.01.1991 (рег. 11.07.1990) «Срок действия продлен»


ГОСТ 7616-85
ГОСТ 7616-85
ГОСТ 7616-85
ГОСТ 7616-85
ГОСТ 7616-85
ГОСТ 7616-85
ГОСТ 7616-85
ГОСТ 7616-85
ГОСТ 7616-85
ГОСТ 7616-85
ГОСТ 7616-85
ГОСТ 7616-85
Автор: 
Домашняя страница автора: 

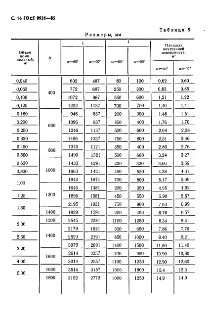
ГОСТ 9931-85

E-mail автора: 

Корпусы цилиндрические стальных сварных сосудов и аппаратов. Типы, основные параметры и размеры

Обозначение: ГОСТ 9931-85
Статус: действующий
Название рус.: Корпусы цилиндрические стальных сварных сосудов и аппаратов. Типы, основные параметры и размеры
Название англ.: The cilindrical shells of the steel welded vessels and apparatus. Types, main characteristics and dimensions
Дата актуализации текста: 19.06.2012
Дата актуализации описания: 19.06.2012
Дата введения в действие: 01.01.1987
Область и условия применения: Настоящий стандарт распространяется на корпуса вновь разрабатываемых цилиндрических емкостных стальных сварных сосудов и аппаратов (в том числе с антикоррозионными покрытиями) номинальным объемом от 0,01 до 200 куб. м, предназначенных для работы под давлением не более 16,0 МПа (160 кгс/кв. см), под атмосферным давлением и под вакуумом с остаточным давлением не менее 667 Па (5 мм рт. ст.).
Стандарт не распространяется на корпуса газгольдеров, баллонов, сосудов и аппаратов, устанавливаемых на транспортных средствах, а также сосудов и аппаратов, основные размеры которых определяются технологическим расчетом процесса
Взамен: ГОСТ 9931-79
Список изменений: №1 от 01.07.1987 (рег. 27.03.1987) «Срок действия продлен»


ГОСТ 9931-85
ГОСТ 9931-85
ГОСТ 9931-85
ГОСТ 9931-85
ГОСТ 9931-85
ГОСТ 9931-85
ГОСТ 9931-85
ГОСТ 9931-85
ГОСТ 9931-85
ГОСТ 9931-85
ГОСТ 9931-85
ГОСТ 9931-85
ГОСТ 9931-85
ГОСТ 9931-85
ГОСТ 9931-85
ГОСТ 9931-85
ГОСТ 9931-85
ГОСТ 9931-85
ГОСТ 9931-85
ГОСТ 9931-85
ГОСТ 9931-85
ГОСТ 9931-85
ГОСТ 9931-85
Автор: 
Домашняя страница автора: 

ГОСТ 9208-85

E-mail автора: 

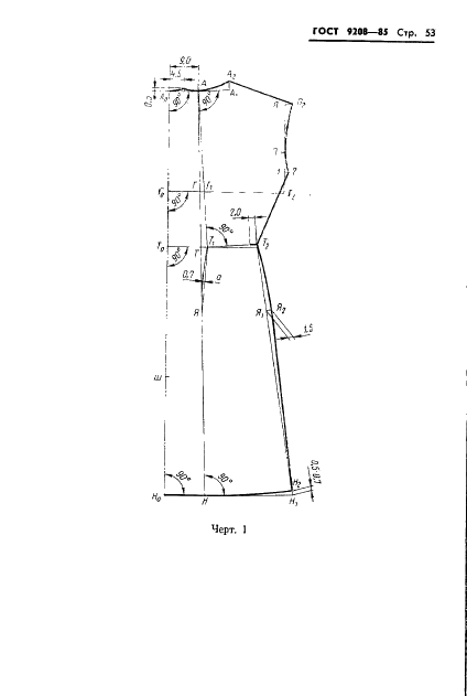
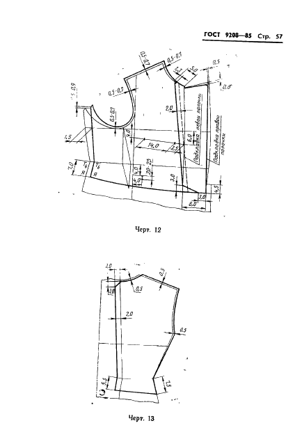
Одежда форменная. Шинели однобортные для военнослужащих. Технические условия

Обозначение: ГОСТ 9208-85
Статус: действующий
Название рус.: Одежда форменная. Шинели однобортные для военнослужащих. Технические условия
Название англ.: Uniform. Woven cloth single-breasted greatcoats for servicemen. Specifications
Дата актуализации текста: 19.06.2012
Дата актуализации описания: 19.06.2012
Дата введения в действие: 01.01.1987
Область и условия применения: Настоящий стандарт распространяется на однобортные шинели для военнослужащих
Взамен: ГОСТ 9208-72
Список изменений: №1 от 01.05.1992 (рег. 12.12.1991) «Срок действия продлен»


ГОСТ 9208-85
ГОСТ 9208-85
ГОСТ 9208-85
ГОСТ 9208-85
ГОСТ 9208-85
ГОСТ 9208-85
ГОСТ 9208-85
ГОСТ 9208-85
ГОСТ 9208-85
ГОСТ 9208-85
ГОСТ 9208-85
ГОСТ 9208-85
ГОСТ 9208-85
ГОСТ 9208-85
ГОСТ 9208-85
ГОСТ 9208-85
ГОСТ 9208-85
ГОСТ 9208-85
ГОСТ 9208-85
ГОСТ 9208-85
ГОСТ 9208-85
ГОСТ 9208-85
ГОСТ 9208-85
ГОСТ 9208-85
ГОСТ 9208-85
ГОСТ 9208-85
ГОСТ 9208-85
ГОСТ 9208-85
ГОСТ 9208-85
ГОСТ 9208-85
ГОСТ 9208-85
ГОСТ 9208-85
ГОСТ 9208-85
ГОСТ 9208-85
ГОСТ 9208-85
ГОСТ 9208-85
ГОСТ 9208-85
ГОСТ 9208-85
ГОСТ 9208-85
ГОСТ 9208-85
ГОСТ 9208-85
ГОСТ 9208-85
ГОСТ 9208-85
ГОСТ 9208-85
ГОСТ 9208-85
ГОСТ 9208-85
ГОСТ 9208-85
ГОСТ 9208-85
ГОСТ 9208-85
ГОСТ 9208-85
ГОСТ 9208-85
ГОСТ 9208-85
ГОСТ 9208-85
ГОСТ 9208-85
ГОСТ 9208-85
ГОСТ 9208-85
ГОСТ 9208-85
ГОСТ 9208-85
ГОСТ 9208-85
ГОСТ 9208-85
ГОСТ 9208-85
ГОСТ 9208-85
ГОСТ 9208-85
ГОСТ 9208-85
ГОСТ 9208-85
ГОСТ 9208-85
ГОСТ 9208-85
ГОСТ 9208-85
ГОСТ 9208-85
Автор: 
Домашняя страница автора: 

ГОСТ 6999-85

E-mail автора: 

Лента и бумага для контрольно-кассовых и контрольно-регистрирующих машин. Технические условия

Обозначение: ГОСТ 6999-85
Статус: действующий
Название рус.: Лента и бумага для контрольно-кассовых и контрольно-регистрирующих машин. Технические условия
Название англ.: Tape and paper for cash recording registers. Specifications
Дата актуализации текста: 19.06.2012
Дата актуализации описания: 19.06.2012
Дата введения в действие: 01.01.1987
Область и условия применения: Настоящий стандарт распространяется на ленту и бумагу для получения оттисков на контрольно-кассовых и контрольно-регистрирующих машинах
Взамен: ГОСТ 6999-68
Список изменений: №1 от 01.07.1990 (рег. 19.12.1989) «Поправка»


ГОСТ 6999-85
ГОСТ 6999-85
ГОСТ 6999-85
ГОСТ 6999-85
ГОСТ 6999-85
ГОСТ 6999-85
Автор: 
Домашняя страница автора: 

ГОСТ 7394-85

E-mail автора: 

Балласт гравийный и гравийно-песчаный для железнодорожного пути. Технические условия

Обозначение: ГОСТ 7394-85
Статус: действующий
Название рус.: Балласт гравийный и гравийно-песчаный для железнодорожного пути. Технические условия
Название англ.: Gravel and sandy-gravel ballast for railway track. Specifications
Дата актуализации текста: 19.06.2012
Дата актуализации описания: 19.06.2012
Дата введения в действие: 01.01.1986
Область и условия применения: Настоящий стандарт распространяется на гравийный и гравийно-песчаный балласт, который является природной песчано-гравийной смесью, образовавшейся в результате естественного разрушения горных пород, и используемый в качестве балластного слоя железнодорожного пути дорог общего пользования, а также дорог предприятий и организаций
Взамен: ГОСТ 7394-77
Список изменений: №1 от 01.04.2001 (рег. 26.02.2001) «Срок действия продлен»
Приложение №1: Изменение №1 к ГОСТ 7394-85


ГОСТ 7394-85
ГОСТ 7394-85
ГОСТ 7394-85
ГОСТ 7394-85
ГОСТ 7394-85
ГОСТ 7394-85
ГОСТ 7394-85
ГОСТ 7394-85
ГОСТ 7394-85
ГОСТ 7394-85


Изменение №1 к ГОСТ 7394-85

Обозначение: Изменение №1 к ГОСТ 7394-85
Дата введения в действие: 01.04.2001
Дата актуализации: 15.01.2008


Изменение №1 к ГОСТ 7394-85
Изменение №1 к ГОСТ 7394-85
Автор: 
Домашняя страница автора: 

Страницы