Наша группа Вконтакте vk.com/4ertimcom

ГОСТ 25001-30000

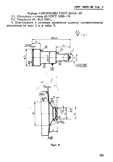
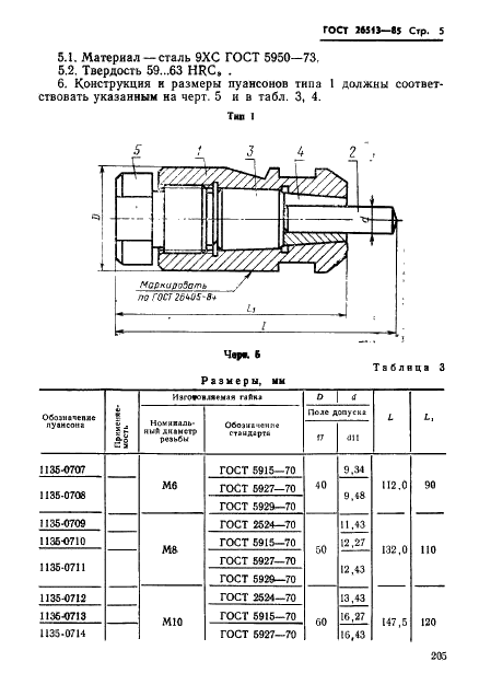
ГОСТ 26513-85

E-mail автора: 

Инструмент для холодноштамповочных автоматов. Пуансоны второго перехода. Конструкция и размеры

Обозначение: ГОСТ 26513-85
Статус: действующий
Название рус.: Инструмент для холодноштамповочных автоматов. Пуансоны второго перехода. Конструкция и размеры
Название англ.: Tools for cold-forming machines. 2-D station punches. Construсtion and dimensions
Дата актуализации текста: 19.06.2012
Дата актуализации описания: 19.06.2012
Дата введения в действие: 01.07.1987
Область и условия применения: Настоящий стандарт распространяется на пуансоны второго перехода к автомату АА1617 и пуансоны типа 1, 2 к автоматам АВ1818, АВ1819, АВ1820, АВ1821, АВ1822, АВ1823 для высадки заготовок гаек номинальным диаметром резьбы от 4 до 20 мм
Список изменений: №1 от 01.01.1991 (рег. 19.12.1989) «Срок действия продлен»


ГОСТ 26513-85
ГОСТ 26513-85
ГОСТ 26513-85
ГОСТ 26513-85
ГОСТ 26513-85
ГОСТ 26513-85
ГОСТ 26513-85
ГОСТ 26513-85
ГОСТ 26513-85
ГОСТ 26513-85
ГОСТ 26513-85
ГОСТ 26513-85
ГОСТ 26513-85
ГОСТ 26513-85
ГОСТ 26513-85
ГОСТ 26513-85
ГОСТ 26513-85
ГОСТ 26513-85
ГОСТ 26513-85
ГОСТ 26513-85
ГОСТ 26513-85
ГОСТ 26513-85
ГОСТ 26513-85
ГОСТ 26513-85
ГОСТ 26513-85
ГОСТ 26513-85
Автор: 
Домашняя страница автора: 

ГОСТ 26473.3-85

E-mail автора: 

Сплавы и лигатуры на основе ванадия. Методы определения железа

Обозначение: ГОСТ 26473.3-85
Статус: действующий
Название рус.: Сплавы и лигатуры на основе ванадия. Методы определения железа
Название англ.: Vanadium base alloys and alloying elements. Methods for determination of iron
Дата актуализации текста: 19.06.2012
Дата актуализации описания: 19.06.2012
Дата введения в действие: 01.07.1986
Область и условия применения: Настоящий стандарт устанавливает фотометрический метод определения железа ( от 0,1 до 3 %) с 1,10-фенантролином фотометрический метод определения железа (от 0,1 до 10%) с сульфосалициловой кислотой и комплексонометрический метод определения железа ( от 5 до 10%) в сплавах и лигатурах на основе ванадия
Список изменений: №1 от 01.01.1992 (рег. 14.05.1991) «Срок действия продлен»


ГОСТ 26473.3-85
ГОСТ 26473.3-85
ГОСТ 26473.3-85
ГОСТ 26473.3-85
ГОСТ 26473.3-85
ГОСТ 26473.3-85
ГОСТ 26473.3-85
ГОСТ 26473.3-85
ГОСТ 26473.3-85
ГОСТ 26473.3-85
ГОСТ 26473.3-85
ГОСТ 26473.3-85
ГОСТ 26473.3-85
Автор: 
Домашняя страница автора: 

ГОСТ 26799-85

E-mail автора: 

Кинескопы цветного изображения. Общие технические условия

Обозначение: ГОСТ 26799-85
Статус: действующий
Название рус.: Кинескопы цветного изображения. Общие технические условия
Название англ.: Color picture tubes. Specifications
Дата актуализации текста: 19.06.2012
Дата актуализации описания: 19.06.2012
Дата введения в действие: 01.01.1987
Список изменений: №1 от 01.05.1987 (рег. 25.11.1986) «Срок действия продлен»
№2 от 01.01.1988 (рег. 29.06.1987) «Срок действия продлен»
№3 от 01.03.1988 (рег. 22.09.1987) «Срок действия продлен»
№4 от 01.08.1988 (рег. 28.01.1988) «Срок действия продлен»
№5 от 01.10.1988 (рег. 17.03.1988) «Срок действия продлен»


ГОСТ 26799-85
ГОСТ 26799-85
ГОСТ 26799-85
ГОСТ 26799-85
ГОСТ 26799-85
ГОСТ 26799-85
ГОСТ 26799-85
ГОСТ 26799-85
ГОСТ 26799-85
ГОСТ 26799-85
ГОСТ 26799-85
ГОСТ 26799-85
ГОСТ 26799-85
ГОСТ 26799-85
ГОСТ 26799-85
ГОСТ 26799-85
ГОСТ 26799-85
ГОСТ 26799-85
ГОСТ 26799-85
ГОСТ 26799-85
ГОСТ 26799-85
ГОСТ 26799-85
ГОСТ 26799-85
ГОСТ 26799-85
ГОСТ 26799-85
ГОСТ 26799-85
ГОСТ 26799-85
ГОСТ 26799-85
ГОСТ 26799-85
ГОСТ 26799-85
ГОСТ 26799-85
ГОСТ 26799-85
ГОСТ 26799-85
ГОСТ 26799-85
ГОСТ 26799-85
ГОСТ 26799-85
ГОСТ 26799-85
ГОСТ 26799-85
ГОСТ 26799-85
ГОСТ 26799-85
ГОСТ 26799-85
ГОСТ 26799-85
ГОСТ 26799-85
ГОСТ 26799-85
ГОСТ 26799-85
ГОСТ 26799-85
ГОСТ 26799-85
ГОСТ 26799-85
ГОСТ 26799-85
ГОСТ 26799-85
ГОСТ 26799-85
ГОСТ 26799-85
ГОСТ 26799-85
ГОСТ 26799-85
ГОСТ 26799-85
ГОСТ 26799-85
ГОСТ 26799-85
Автор: 
Домашняя страница автора: 

ГОСТ 26607-85

E-mail автора: 

Система обеспечения точности геометрических парметров в строительстве. Функциональные допуски

Обозначение: ГОСТ 26607-85
Статус: действующий
Название рус.: Система обеспечения точности геометрических парметров в строительстве. Функциональные допуски
Название англ.: System of ensuring of geometrical parameters accuracy in construction. Functional tolerances
Дата актуализации текста: 19.06.2012
Дата актуализации описания: 19.06.2012
Дата введения в действие: 01.01.1986
Область и условия применения: Настоящий стандарт распространяется на проектирование, строительство зданий, сооружений и их элементов и устанавливает номенклатуру и основные принципы назначения функциональных допусков геометрических параметров в строительстве


ГОСТ 26607-85
ГОСТ 26607-85
ГОСТ 26607-85
ГОСТ 26607-85
ГОСТ 26607-85
ГОСТ 26607-85
ГОСТ 26607-85
ГОСТ 26607-85
ГОСТ 26607-85
ГОСТ 26607-85
ГОСТ 26607-85
ГОСТ 26607-85
ГОСТ 26607-85
ГОСТ 26607-85
ГОСТ 26607-85
ГОСТ 26607-85
Автор: 
Домашняя страница автора: 

ГОСТ 26473.8-85

E-mail автора: 

Сплавы и лигатуры на основе ванадия. Метод определения титана

Обозначение: ГОСТ 26473.8-85
Статус: действующий
Название рус.: Сплавы и лигатуры на основе ванадия. Метод определения титана
Название англ.: Vanadium base alloys and alloying elements. Method for determination of titanium
Дата актуализации текста: 19.06.2012
Дата актуализации описания: 19.06.2012
Дата введения в действие: 01.07.1986
Область и условия применения: Настоящий стандарт устанавливает фотометрический метод определения титана ( от 5 до 25%) в сплавах и лигатурах на основе ванадия
Список изменений: №1 от 01.01.1992 (рег. 14.05.1991) «Срок действия продлен»


ГОСТ 26473.8-85
ГОСТ 26473.8-85
ГОСТ 26473.8-85
ГОСТ 26473.8-85
ГОСТ 26473.8-85
ГОСТ 26473.8-85
Автор: 
Домашняя страница автора: 

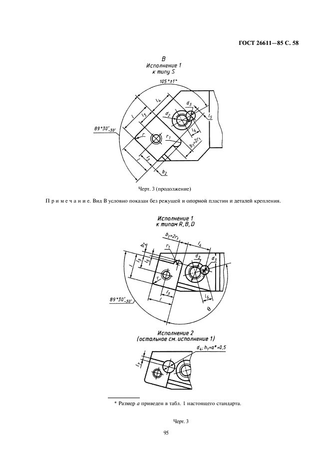
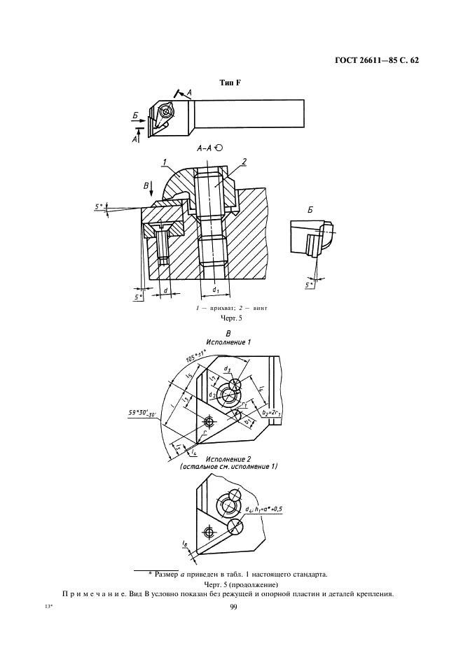
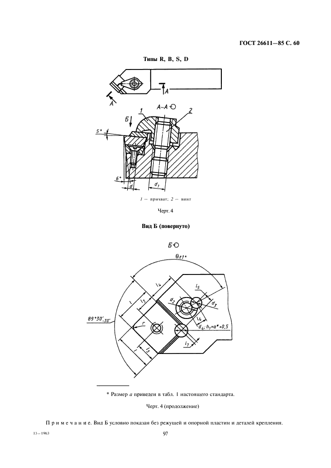
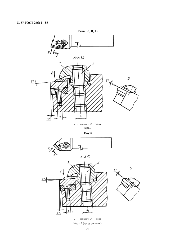
ГОСТ 26611-85

E-mail автора: 

Резцы токарные проходные, подрезные и копировальные с креплением сменных пластин прихватом сверху. Конструкция и размеры

Обозначение: ГОСТ 26611-85
Статус: действующий
Название рус.: Резцы токарные проходные, подрезные и копировальные с креплением сменных пластин прихватом сверху. Конструкция и размеры
Название англ.: Straigh luming undercutting and coping tool holders with clamped changeable inserts pressed from the top. Desing and dimensions
Дата актуализации текста: 19.06.2012
Дата актуализации описания: 19.06.2012
Дата введения в действие: 01.07.1986
Область и условия применения: Настоящий стандарт распространяется на токарные резцы с механическим креплением сменных многогранных пластин, предназначенные для обработки наружных поверхностей и изготовляемые для нужд народного хозяйства и экспорта
Список изменений: №1 от 01.07.1987 (рег. 17.12.1986) «Срок действия продлен»
№2 от 01.08.1992 (рег. 28.02.1992) «Поправка»


ГОСТ 26611-85
ГОСТ 26611-85
ГОСТ 26611-85
ГОСТ 26611-85
ГОСТ 26611-85
ГОСТ 26611-85
ГОСТ 26611-85
ГОСТ 26611-85
ГОСТ 26611-85
ГОСТ 26611-85
ГОСТ 26611-85
ГОСТ 26611-85
ГОСТ 26611-85
ГОСТ 26611-85
ГОСТ 26611-85
ГОСТ 26611-85
ГОСТ 26611-85
ГОСТ 26611-85
ГОСТ 26611-85
ГОСТ 26611-85
ГОСТ 26611-85
ГОСТ 26611-85
ГОСТ 26611-85
ГОСТ 26611-85
ГОСТ 26611-85
ГОСТ 26611-85
ГОСТ 26611-85
ГОСТ 26611-85
ГОСТ 26611-85
ГОСТ 26611-85
ГОСТ 26611-85
ГОСТ 26611-85
ГОСТ 26611-85
ГОСТ 26611-85
ГОСТ 26611-85
ГОСТ 26611-85
ГОСТ 26611-85
ГОСТ 26611-85
ГОСТ 26611-85
ГОСТ 26611-85
ГОСТ 26611-85
ГОСТ 26611-85
ГОСТ 26611-85
ГОСТ 26611-85
ГОСТ 26611-85
ГОСТ 26611-85
ГОСТ 26611-85
ГОСТ 26611-85
ГОСТ 26611-85
ГОСТ 26611-85
ГОСТ 26611-85
ГОСТ 26611-85
ГОСТ 26611-85
ГОСТ 26611-85
ГОСТ 26611-85
ГОСТ 26611-85
ГОСТ 26611-85
ГОСТ 26611-85
ГОСТ 26611-85
ГОСТ 26611-85
ГОСТ 26611-85
ГОСТ 26611-85
ГОСТ 26611-85
ГОСТ 26611-85
ГОСТ 26611-85
ГОСТ 26611-85
ГОСТ 26611-85
ГОСТ 26611-85
ГОСТ 26611-85
Автор: 
Домашняя страница автора: 

ГОСТ 26409-85

E-mail автора: 

Кожа. Метод определения адгезии лакового покрытия

Обозначение: ГОСТ 26409-85
Статус: действующий
Название рус.: Кожа. Метод определения адгезии лакового покрытия
Название англ.: Leather. Method for determination of lacquer coating adhesion
Дата актуализации текста: 19.06.2012
Дата актуализации описания: 19.06.2012
Дата введения в действие: 01.07.1986
Область и условия применения: Настоящий стандарт распространяется на кожу с лаковым полиуретановым покрытием для верха обуви и устанавливает метод определения адгезии лаковой пленки


ГОСТ 26409-85
ГОСТ 26409-85
ГОСТ 26409-85
ГОСТ 26409-85
Автор: 
Домашняя страница автора: 

ГОСТ 26496-85

E-mail автора: 

Гидроаккумуляторы. Правила приемки и методы испытаний

Обозначение: ГОСТ 26496-85
Статус: действующий
Название рус.: Гидроаккумуляторы. Правила приемки и методы испытаний
Название англ.: Hydraulic accumulators. Acceptance rules and test methods
Дата актуализации текста: 19.06.2012
Дата актуализации описания: 19.06.2012
Дата введения в действие: 01.07.1986
Область и условия применения: Настоящий стандарт распространяется на гидроаккумуляторы для объемных гидроприводов и устанавливает правила приемки и методы испытаний.
Стандарт не распространяется на гидроаккумуляторы с упругим корпусом и пневмогидроаккумуляторы без разделителя
Список изменений: №1 от 01.07.1987 (рег. 28.10.1986) «Срок действия продлен»
№2 от 01.03.1988 (рег. 24.09.1987) «Срок действия продлен»


ГОСТ 26496-85
ГОСТ 26496-85
ГОСТ 26496-85
ГОСТ 26496-85
ГОСТ 26496-85
ГОСТ 26496-85
ГОСТ 26496-85
ГОСТ 26496-85
Автор: 
Домашняя страница автора: 

ГОСТ 26423-85

E-mail автора: 

Почвы. Методы определения удельной электрической проводимости, pH и плотного остатка водной вытяжки

Обозначение: ГОСТ 26423-85
Статус: действующий
Название рус.: Почвы. Методы определения удельной электрической проводимости, pH и плотного остатка водной вытяжки
Название англ.: Soils. Methods for determination of specific electric conductivity, pH and solid residue of water extract
Дата актуализации текста: 19.06.2012
Дата актуализации описания: 19.06.2012
Дата введения в действие: 01.01.1986
Область и условия применения: Настоящий стандарт устанавливает методы определения удельной электрической проводимости, pH и плотного остатка водной вытяжки из засоленных почв с целью оценки общей концентрации солей при проведении почвенного, агрохимического и мелиоративного обследования угодий, контроля за состоянием солевого режима почв, а также при других исследовательских и изыскательских работах
Список изменений: №0 от 01.08.1986 (рег. 01.08.1986) «Дата введения перенесена»


ГОСТ 26423-85
ГОСТ 26423-85
ГОСТ 26423-85
ГОСТ 26423-85
ГОСТ 26423-85
ГОСТ 26423-85
ГОСТ 26423-85
ГОСТ 26423-85
ГОСТ 26423-85
ГОСТ 26423-85
Автор: 
Домашняя страница автора: 

ГОСТ 26715-85

E-mail автора: 

Удобрения органические. Методы определения общего азота

Обозначение: ГОСТ 26715-85
Статус: действующий
Название рус.: Удобрения органические. Методы определения общего азота
Название англ.: Organic fertilizers. Methods for determination of total nitrogen
Дата актуализации текста: 19.06.2012
Дата актуализации описания: 19.06.2012
Дата введения в действие: 01.01.1987
Область и условия применения: Настоящий стандарт распространяется на органические удобрения и устанавливает методы определения массовой доли общего азота


ГОСТ 26715-85
ГОСТ 26715-85
ГОСТ 26715-85
ГОСТ 26715-85
ГОСТ 26715-85
ГОСТ 26715-85
ГОСТ 26715-85
ГОСТ 26715-85
ГОСТ 26715-85
ГОСТ 26715-85
ГОСТ 26715-85
ГОСТ 26715-85
Автор: 
Домашняя страница автора: 

Страницы