Наша группа Вконтакте vk.com/4ertimcom

ГОСТ 25001-30000

ГОСТ 25247-82

E-mail автора: 

Выключатели (переключатели) кнопочные и арматура светосигнальная низковольтные. Габаритные и установочные размеры

Обозначение: ГОСТ 25247-82
Статус: действующий
Название рус.: Выключатели (переключатели) кнопочные и арматура светосигнальная низковольтные. Габаритные и установочные размеры
Название англ.: Pushbutton switches and indicating lights low voltage. Overall and fixing dimensions
Дата актуализации текста: 19.06.2012
Дата актуализации описания: 19.06.2012
Дата введения в действие: 01.07.1983
Область и условия применения: Настоящий стандарт распространяется на кнопочные контактные выключатели (переключатели) и светосигнальную арматуру с цилиндрической установочной частью, предназначенные для работы в цепях управления на номинальное переменное напряжение до 660 В частотой 50 и 60 Гц и постоянное напряжение до 440 В и устанавливает габаритные и установочные размеры, а также размеры отверстий для установки аппаратов на панелях.
Настоящий стандарт не распространяется на аппараты специального назначения
Список изменений: №0 от 04.12.1987 (рег. 04.12.1987) «Срок действия продлен»
№1 от 01.06.1989 (рег. 07.12.1988) «Срок действия продлен»


ГОСТ 25247-82
ГОСТ 25247-82
ГОСТ 25247-82
ГОСТ 25247-82
ГОСТ 25247-82
ГОСТ 25247-82
ГОСТ 25247-82
Автор: 
Домашняя страница автора: 

ГОСТ 25124-82

E-mail автора: 

Машины вычислительные и системы обработки данных. Шифры изделий

Обозначение: ГОСТ 25124-82
Статус: действующий
Название рус.: Машины вычислительные и системы обработки данных. Шифры изделий
Название англ.: Computers and data processing systems. Product codes
Дата актуализации текста: 19.06.2012
Дата актуализации описания: 19.06.2012
Дата введения в действие: 01.01.1983
Область и условия применения: Настоящий стандарт распространяется на электронные вычислительные машины, технические средства, составные части технических средств Единой системы электронных вычислительных машин и Системы малых электронных вычислительных машин и устанавливает структуру шифров, правила их построения и написания


ГОСТ 25124-82
ГОСТ 25124-82
ГОСТ 25124-82
ГОСТ 25124-82
ГОСТ 25124-82
ГОСТ 25124-82
ГОСТ 25124-82
Автор: 
Домашняя страница автора: 

ГОСТ 25330-82

E-mail автора: 

Обработка электрохимическая. Термины и определения

Обозначение: ГОСТ 25330-82
Статус: действующий
Название рус.: Обработка электрохимическая. Термины и определения
Название англ.: Electrochemical machining. Terms and definitions
Дата актуализации текста: 19.06.2012
Дата актуализации описания: 19.06.2012
Дата введения в действие: 01.07.1983
Область и условия применения: Настоящий стандарт устанавливает применяемые в науке, технике и производстве термины и определения основных понятий в области электрохимической обработки металлов.
Стандарт не распространяется на электрохимическое полирование, травление, оксидирование, гальваностегию и гальванопластику


ГОСТ 25330-82
ГОСТ 25330-82
ГОСТ 25330-82
ГОСТ 25330-82
ГОСТ 25330-82
ГОСТ 25330-82
ГОСТ 25330-82
Автор: 
Домашняя страница автора: 

ГОСТ 25331-82

E-mail автора: 

Обработка электроэрозионная. Термины и определения

Обозначение: ГОСТ 25331-82
Статус: действующий
Название рус.: Обработка электроэрозионная. Термины и определения
Название англ.: Electrodischarge machining. Terms and definitons
Дата актуализации текста: 19.06.2012
Дата актуализации описания: 19.06.2012
Дата введения в действие: 01.07.1983
Область и условия применения: Настоящий стандарт устанавливает применяемые в науке, технике и производстве термины и определения основных понятий в области электроэрозионной обработки металлов


ГОСТ 25331-82
ГОСТ 25331-82
ГОСТ 25331-82
ГОСТ 25331-82
ГОСТ 25331-82
ГОСТ 25331-82
ГОСТ 25331-82
ГОСТ 25331-82
ГОСТ 25331-82
ГОСТ 25331-82
ГОСТ 25331-82
ГОСТ 25331-82
Автор: 
Домашняя страница автора: 

ГОСТ 25191-82

E-mail автора: 

Покрытия и изделия ковровые машинного способа производства. Метод определения изменения толщины при динамической нагрузке

Обозначение: ГОСТ 25191-82
Статус: действующий
Название рус.: Покрытия и изделия ковровые машинного способа производства. Метод определения изменения толщины при динамической нагрузке
Название англ.: Floor coverings and machine made carpets. Method for determination of thickness changes under conditions of dynamic loading
Дата актуализации текста: 19.06.2012
Дата актуализации описания: 19.06.2012
Дата введения в действие: 01.07.1983
Область и условия применения: Настоящий стандарт распространяется на покрытия и изделия ковровые машинного способа производства, вырабатываемые из шерсти в сочетании с натуральными и химическими волокнами и нитями, а также полностью из химических волокон, устанавливает метод определения изменения толщины при динамической нагрузке
Список изменений: №0 от 18.02.1988 (рег. 18.02.1988) «Срок действия продлен»


ГОСТ 25191-82
ГОСТ 25191-82
ГОСТ 25191-82
ГОСТ 25191-82
ГОСТ 25191-82
ГОСТ 25191-82
Автор: 
Домашняя страница автора: 

ГОСТ 25230-82

E-mail автора: 

Манипуляторы для дистанционной работы с радиоактивными веществами. Ряды грузоподъемности

Обозначение: ГОСТ 25230-82
Статус: действующий
Название рус.: Манипуляторы для дистанционной работы с радиоактивными веществами. Ряды грузоподъемности
Название англ.: Manipulators for remote handling of radioactive substances. Capacity range
Дата актуализации текста: 19.06.2012
Дата актуализации описания: 19.06.2012
Дата введения в действие: 01.01.1983
Область и условия применения: Настоящий стандарт распространяется на манипуляторы, предназначенные для дистанционной работы с радиоактивными веществами и источниками ионизирующих излучений, и устанавливает ряды грузоподъемности от 0,1 до 5000 кг
Список изменений: №1 от 01.01.1988 (рег. 19.06.1987) «Срок действия продлен»


ГОСТ 25230-82
ГОСТ 25230-82
ГОСТ 25230-82
ГОСТ 25230-82
ГОСТ 25230-82
ГОСТ 25230-82
ГОСТ 25230-82
Автор: 
Домашняя страница автора: 

ГОСТ 25108-82

E-mail автора: 

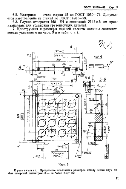
Блоки двухкассетных пресс-форм для изготовления резинотехнических изделий на прессах с размерами греющих плит 400х400 мм. Конструкция и размеры

Обозначение: ГОСТ 25108-82
Статус: действующий
Название рус.: Блоки двухкассетных пресс-форм для изготовления резинотехнических изделий на прессах с размерами греющих плит 400х400 мм. Конструкция и размеры
Название англ.: Blocks of two-casetta press moulds for producing the rubber technical parts on presses with dimensions heating plates 400x400 mm. Design and dimensions
Дата актуализации текста: 19.06.2012
Дата актуализации описания: 19.06.2012
Дата введения в действие: 01.01.1984
Область и условия применения: Настоящий стандарт распространяется на блоки двухкассетных пресс-форм в исполнениях 1 и 2 для изготовления резинотехнических изделий на вулканизационных прессах с размерами греющих плит 400х400 мм


ГОСТ 25108-82
ГОСТ 25108-82
ГОСТ 25108-82
ГОСТ 25108-82
ГОСТ 25108-82
ГОСТ 25108-82
ГОСТ 25108-82
ГОСТ 25108-82
ГОСТ 25108-82
ГОСТ 25108-82
ГОСТ 25108-82
ГОСТ 25108-82
ГОСТ 25108-82
ГОСТ 25108-82
ГОСТ 25108-82
ГОСТ 25108-82
Автор: 
Домашняя страница автора: 

ГОСТ 25106-82

E-mail автора: 

Корпуса подшипников скольжения неразъемные и разъемные. Технические требования

Обозначение: ГОСТ 25106-82
Статус: действующий
Название рус.: Корпуса подшипников скольжения неразъемные и разъемные. Технические требования
Название англ.: Plain bearings split bearing blocks and pillow-blocks. Technical requirements
Дата актуализации текста: 19.06.2012
Дата актуализации описания: 19.06.2012
Дата введения в действие: 01.07.1983
Область и условия применения: Настоящий стандарт распространяется на неразъемные и разъемные корпуса подшипников скольжения по ГОСТ 11521-82 - ГОСТ 11524-82 и ГОСТ 11607-82 - ГОСТ 11610-82
Список изменений: №0 от 16.12.1987 (рег. 16.12.1987) «Срок действия продлен»


ГОСТ 25106-82
ГОСТ 25106-82
ГОСТ 25106-82
ГОСТ 25106-82
ГОСТ 25106-82
Автор: 
Домашняя страница автора: 

ГОСТ 25210-82

E-mail автора: 

Полиэфиры простые и сложные для полиуретанов. Метод определения кислотного числа

Обозначение: ГОСТ 25210-82
Статус: действующий
Название рус.: Полиэфиры простые и сложные для полиуретанов. Метод определения кислотного числа
Название англ.: Polyethers and polyesters for polyurethanes. Method of acid value determinations
Дата актуализации текста: 19.06.2012
Дата актуализации описания: 19.06.2012
Дата введения в действие: 01.01.1983
Область и условия применения: Настоящий стандарт распространяется на простые и сложные полиэфиры для полиуретанов и устанавливает метод определения кислотного числа


ГОСТ 25210-82
ГОСТ 25210-82
ГОСТ 25210-82
ГОСТ 25210-82
ГОСТ 25210-82
ГОСТ 25210-82
ГОСТ 25210-82
Автор: 
Домашняя страница автора: 

ГОСТ 25216-82

E-mail автора: 

Тальк и талькомагнезит. Метод определения железа

Обозначение: ГОСТ 25216-82
Статус: действующий
Название рус.: Тальк и талькомагнезит. Метод определения железа
Название англ.: Talc and talcomagnesite. Method determination of iron
Дата актуализации текста: 19.06.2012
Дата актуализации описания: 19.06.2012
Дата введения в действие: 01.01.1983
Область и условия применения: Настоящий стандарт распространяется на молотые тальк и талькомагнезит, включая микротальк, и устанавливает метод определения железа, извлекаемого магнитом
Список изменений: №1 от 01.01.1988 (рег. 23.06.1987) «Срок действия продлен»


ГОСТ 25216-82
ГОСТ 25216-82
ГОСТ 25216-82
ГОСТ 25216-82
ГОСТ 25216-82
Автор: 
Домашняя страница автора: 

Страницы