Наша группа Вконтакте vk.com/4ertimcom

ГОСТ 25001-30000

ГОСТ 25375-82

E-mail автора: 

Методы, средства и режимы стерилизации и дезинфекции изделий медицинского назначения. Термины и определения

Обозначение: ГОСТ 25375-82
Статус: действующий
Название рус.: Методы, средства и режимы стерилизации и дезинфекции изделий медицинского назначения. Термины и определения
Название англ.: Methods, means and conditions of sterilisation and disinfection of medical use products. Terms and definitions
Дата актуализации текста: 19.06.2012
Дата актуализации описания: 19.06.2012
Дата введения в действие: 01.07.1983
Область и условия применения: Настоящий стандарт устанавливает применяемые в науке, технике и производстве термины и определения методов, средств и режимов стерилизации и дезинфекции изделий медицинского назначения, используемых в медицинской практике


ГОСТ 25375-82
ГОСТ 25375-82
ГОСТ 25375-82
ГОСТ 25375-82
ГОСТ 25375-82
ГОСТ 25375-82
ГОСТ 25375-82
ГОСТ 25375-82
ГОСТ 25375-82
ГОСТ 25375-82
ГОСТ 25375-82
Автор: 
Домашняя страница автора: 

ГОСТ 25188-82

E-mail автора: 

Контакт-детали электрические. Метод определения эрозионной стойкости в электродуговом режиме

Обозначение: ГОСТ 25188-82
Статус: действующий
Название рус.: Контакт-детали электрические. Метод определения эрозионной стойкости в электродуговом режиме
Название англ.: Electrical contacts. Erosion resistance testing under electrical arc conditions
Дата актуализации текста: 19.06.2012
Дата актуализации описания: 19.06.2012
Дата введения в действие: 01.07.1983
Область и условия применения: Настоящий стандарт распространяется на контакт-детали, изготовляемые по нормативно-технической документации, как комплектующие изделия низковольтной коммутационной аппаратуры для обеспечения стыковых электрических контактов при силе тока до 20 А в режиме дуговой эрозии, а также на контактные материалы, используемые для изготовления контакт-деталей, и устанавливает метод стендовых испытаний электрических контакт-деталей для определения дугового износа, характеризующего эрозионную стойкость контакт-деталей в электродуговом режиме
Список изменений: №0 от 22.12.1987 (рег. 22.12.1987) «Срок действия продлен»


ГОСТ 25188-82
ГОСТ 25188-82
ГОСТ 25188-82
ГОСТ 25188-82
ГОСТ 25188-82
ГОСТ 25188-82
ГОСТ 25188-82
ГОСТ 25188-82
Автор: 
Домашняя страница автора: 

ГОСТ 25278.12-82

E-mail автора: 

Сплавы и лигатуры редких металлов. Спектральный метод определения кремния, железа, алюминия, марганца и хрома в сплавах на основе ванадия

Обозначение: ГОСТ 25278.12-82
Статус: действующий
Название рус.: Сплавы и лигатуры редких металлов. Спектральный метод определения кремния, железа, алюминия, марганца и хрома в сплавах на основе ванадия
Название англ.: Alloys and foundry alloys of rare metals. Spectral method for determination of silicon, iron, aluminium, manganese and chromium in alloys on vanadium base
Дата актуализации текста: 19.06.2012
Дата актуализации описания: 19.06.2012
Дата введения в действие: 01.07.1983
Область и условия применения: Настоящий стандарт устанавливает спектральный метод определения кремния, железа, марганца и хрома (от 0,02 до 1%), алюминия (от 0,1 до 1%), в сплавах и лигатурах на основе ванадия
Список изменений: №1 от 01.07.1988 (рег. 29.10.1987) «Срок действия продлен»


ГОСТ 25278.12-82
ГОСТ 25278.12-82
ГОСТ 25278.12-82
ГОСТ 25278.12-82
ГОСТ 25278.12-82
ГОСТ 25278.12-82
ГОСТ 25278.12-82
Автор: 
Домашняя страница автора: 

ГОСТ 25508-82

E-mail автора: 

Деревообрабатывающее оборудование. Оправки фрезерных станков с нижним расположением шпинделя. Присоединительные размеры

Обозначение: ГОСТ 25508-82
Статус: действующий
Название рус.: Деревообрабатывающее оборудование. Оправки фрезерных станков с нижним расположением шпинделя. Присоединительные размеры
Название англ.: Woodworking equipment. The mandrels of the shapers with lower spindles. Joining dimensions
Дата актуализации текста: 19.06.2012
Дата актуализации описания: 19.06.2012
Дата введения в действие: 01.07.1983
Область и условия применения: Настоящий стандарт распространяется на оправки фрезерных станков с нижним расположением шпинделя


ГОСТ 25508-82
ГОСТ 25508-82
ГОСТ 25508-82
ГОСТ 25508-82
Автор: 
Домашняя страница автора: 

ГОСТ 25134-82

E-mail автора: 

Бруцеллин ВИЭВ. Технические условия

Обозначение: ГОСТ 25134-82
Статус: действующий
Название рус.: Бруцеллин ВИЭВ. Технические условия
Название англ.: Brucellin ВИЭВ. Specifications
Дата актуализации текста: 19.06.2012
Дата актуализации описания: 19.06.2012
Дата введения в действие: 01.01.1983
Область и условия применения: Настоящий стандарт распространяется на бруцеллин ВИЭВ, представляющий собой стерильную жидкость, содержащую специфические вещества, извлеченные из бруцелл
Список изменений: №0 от 12.05.1987 (рег. 12.05.1987) «Срок действия продлен»


ГОСТ 25134-82
ГОСТ 25134-82
ГОСТ 25134-82
ГОСТ 25134-82
ГОСТ 25134-82
ГОСТ 25134-82
ГОСТ 25134-82
ГОСТ 25134-82
ГОСТ 25134-82
ГОСТ 25134-82
ГОСТ 25134-82
ГОСТ 25134-82
ГОСТ 25134-82
ГОСТ 25134-82
ГОСТ 25134-82
ГОСТ 25134-82
Автор: 
Домашняя страница автора: 

ГОСТ 25368-82

E-mail автора: 

Средства измерений максимальной мощности импульсного лазерного излучения. Типы и основные параметры. Методы измерений

Обозначение: ГОСТ 25368-82
Статус: действующий
Название рус.: Средства измерений максимальной мощности импульсного лазерного излучения. Типы и основные параметры. Методы измерений
Название англ.: Means for measurement of pulse laser radiation maximum power. Types and main parameters. Measuring methods
Дата актуализации текста: 19.06.2012
Дата актуализации описания: 19.06.2012
Дата введения в действие: 01.07.1983
Область и условия применения: Настоящий стандарт распространяется на образцовые и рабочие средства измерений максимальной мощности импульсного лазерного излучения и устанавливает их типы, основные параметры и характеристики, а также методы измерения основных параметров и характеристик при изменении параметров исследуемого излучения.
Настоящий стандарт не распространяется на измерительные генераторы импульсов оптического излучения


ГОСТ 25368-82
ГОСТ 25368-82
ГОСТ 25368-82
ГОСТ 25368-82
ГОСТ 25368-82
ГОСТ 25368-82
ГОСТ 25368-82
ГОСТ 25368-82
ГОСТ 25368-82
ГОСТ 25368-82
ГОСТ 25368-82
ГОСТ 25368-82
ГОСТ 25368-82
ГОСТ 25368-82
ГОСТ 25368-82
ГОСТ 25368-82
ГОСТ 25368-82
ГОСТ 25368-82
ГОСТ 25368-82
Автор: 
Домашняя страница автора: 

ГОСТ 25136-82

E-mail автора: 

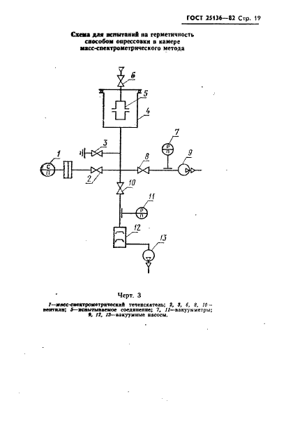
Соединения трубопроводов. Методы испытаний на герметичность

Обозначение: ГОСТ 25136-82
Статус: действующий
Название рус.: Соединения трубопроводов. Методы испытаний на герметичность
Название англ.: Pipe-line connections. Leak tightness test methods
Дата актуализации текста: 19.06.2012
Дата актуализации описания: 19.06.2012
Дата введения в действие: 01.01.1983
Область и условия применения: Стандарт устанавливает требования к основным методам испытаний на герметичность соединений трубопроводов.
Стандарт распространяется на разъемные соединения трубопроводов
Список изменений: №0 от 25.06.1987 (рег. 25.06.1987) «Срок действия продлен»


ГОСТ 25136-82
ГОСТ 25136-82
ГОСТ 25136-82
ГОСТ 25136-82
ГОСТ 25136-82
ГОСТ 25136-82
ГОСТ 25136-82
ГОСТ 25136-82
ГОСТ 25136-82
ГОСТ 25136-82
ГОСТ 25136-82
ГОСТ 25136-82
ГОСТ 25136-82
ГОСТ 25136-82
ГОСТ 25136-82
ГОСТ 25136-82
ГОСТ 25136-82
ГОСТ 25136-82
ГОСТ 25136-82
ГОСТ 25136-82
ГОСТ 25136-82
ГОСТ 25136-82
ГОСТ 25136-82
ГОСТ 25136-82
Автор: 
Домашняя страница автора: 

ГОСТ 25278.11-82

E-mail автора: 

Сплавы и лигатуры редких металлов. Спектральный метод определения кремния, железа, алюминия, титана и кальция в сплавах на основе ниобия

Обозначение: ГОСТ 25278.11-82
Статус: действующий
Название рус.: Сплавы и лигатуры редких металлов. Спектральный метод определения кремния, железа, алюминия, титана и кальция в сплавах на основе ниобия
Название англ.: Alloys and foundry alloys of rare metals. Spectral method for determination of silicon, iron, aluminium, titanium, calcium in alloys on niobium base
Дата актуализации текста: 19.06.2012
Дата актуализации описания: 19.06.2012
Дата введения в действие: 01.07.1983
Область и условия применения: Настоящий стандарт устанавливает спектральный метод определения кремния, железа, алюминия, титана и кальция от 0,01 до 1,0% в сплавах и лигатурах на основе ниобия
Список изменений: №1 от 01.07.1988 (рег. 29.10.1987) «Срок действия продлен»


ГОСТ 25278.11-82
ГОСТ 25278.11-82
ГОСТ 25278.11-82
ГОСТ 25278.11-82
ГОСТ 25278.11-82
ГОСТ 25278.11-82
Автор: 
Домашняя страница автора: 

ГОСТ 25428-82

E-mail автора: 

Фторопласт-42. Технические условия

Обозначение: ГОСТ 25428-82
Статус: действующий
Название рус.: Фторопласт-42. Технические условия
Название англ.: Fluoroplast-42. Specifications
Дата актуализации текста: 19.06.2012
Дата актуализации описания: 19.06.2012
Дата введения в действие: 01.07.1983
Область и условия применения: Настоящий стандарт распространяется на фторопласт-42, предназначенный для получения волокна из раствора, прессованных и литьевых изделий, лаковых покрытий и пленок, стойких к агрессивным средам, работающих при температуре от минус 60 до плюс 120 град. С
Список изменений: №1 от 01.08.1988 (рег. 09.03.1988) «Срок действия продлен»


ГОСТ 25428-82
ГОСТ 25428-82
ГОСТ 25428-82
ГОСТ 25428-82
ГОСТ 25428-82
ГОСТ 25428-82
ГОСТ 25428-82
ГОСТ 25428-82
ГОСТ 25428-82
ГОСТ 25428-82
ГОСТ 25428-82
ГОСТ 25428-82
ГОСТ 25428-82
ГОСТ 25428-82
ГОСТ 25428-82
ГОСТ 25428-82
ГОСТ 25428-82
ГОСТ 25428-82
ГОСТ 25428-82
ГОСТ 25428-82
ГОСТ 25428-82
ГОСТ 25428-82
Автор: 
Домашняя страница автора: 

ГОСТ 25051.2-82

E-mail автора: 

Система государственных испытаний продукции. Камеры тепла и холода испытательные. Методы аттестации

Обозначение: ГОСТ 25051.2-82
Статус: утратил силу в РФ
Название рус.: Система государственных испытаний продукции. Камеры тепла и холода испытательные. Методы аттестации
Название англ.: The state system of testing products. Test chambers of heat and cold. Certification methods
Дата актуализации текста: 19.06.2012
Дата актуализации описания: 19.06.2012
Дата введения в действие: 01.07.1983
Область и условия применения: Настоящий стандарт распространяется на камеры тепла, холода, тепла и холода полезным объемом свыше 0,025 м куб., предназначенные для испытаний продукции на воздействие температур в диапазоне 173-623 К (минус 100 - плюс 350 град. С), и устанавливает методы их аттестации.
Настоящий стандарт не распространяется на специальные камеры и камеры для испытаний на надежность
Взамен: ГОСТ 20497-75
Список изменений: №0 от 01.01.2011 (рег. 15.12.2009) «Поправка к изменению»


ГОСТ 25051.2-82
ГОСТ 25051.2-82
ГОСТ 25051.2-82
ГОСТ 25051.2-82
ГОСТ 25051.2-82
ГОСТ 25051.2-82
ГОСТ 25051.2-82
ГОСТ 25051.2-82
ГОСТ 25051.2-82
ГОСТ 25051.2-82
ГОСТ 25051.2-82
ГОСТ 25051.2-82
ГОСТ 25051.2-82
ГОСТ 25051.2-82
ГОСТ 25051.2-82
ГОСТ 25051.2-82
ГОСТ 25051.2-82
ГОСТ 25051.2-82
ГОСТ 25051.2-82
ГОСТ 25051.2-82
ГОСТ 25051.2-82
ГОСТ 25051.2-82
ГОСТ 25051.2-82
ГОСТ 25051.2-82
ГОСТ 25051.2-82
ГОСТ 25051.2-82
ГОСТ 25051.2-82
ГОСТ 25051.2-82
ГОСТ 25051.2-82
ГОСТ 25051.2-82
ГОСТ 25051.2-82
Автор: 
Домашняя страница автора: 

Страницы