Наша группа Вконтакте vk.com/4ertimcom

ГОСТ 25001-30000

ГОСТ 25109-82

E-mail автора: 

Блоки трехкассетных пресс-форм для изготовления резинотехнических изделий на прессах с размерами греющих плит 400х400 мм. Конструкция и размеры

Обозначение: ГОСТ 25109-82
Статус: действующий
Название рус.: Блоки трехкассетных пресс-форм для изготовления резинотехнических изделий на прессах с размерами греющих плит 400х400 мм. Конструкция и размеры
Название англ.: Blocks of three-casetta press moulds for producing the rubber technical parts on presses with dimensions heating plates 400x400 mm. Design and dimensions
Дата актуализации текста: 19.06.2012
Дата актуализации описания: 19.06.2012
Дата введения в действие: 01.01.1984
Область и условия применения: Настоящий стандарт распространяется на блоки трехкассетных пресс-форм в исполнениях 1 и 2 для изготовления резино-технических изделий на вулканизационных прессах с размерами греющих плит 400х400 мм


ГОСТ 25109-82
ГОСТ 25109-82
ГОСТ 25109-82
ГОСТ 25109-82
ГОСТ 25109-82
ГОСТ 25109-82
ГОСТ 25109-82
ГОСТ 25109-82
ГОСТ 25109-82
ГОСТ 25109-82
ГОСТ 25109-82
ГОСТ 25109-82
ГОСТ 25109-82
ГОСТ 25109-82
ГОСТ 25109-82
ГОСТ 25109-82
Автор: 
Домашняя страница автора: 

ГОСТ 25315-82

E-mail автора: 

Контроль неразрушающий электрический. Термины и определения

Обозначение: ГОСТ 25315-82
Статус: действующий
Название рус.: Контроль неразрушающий электрический. Термины и определения
Название англ.: Electric non-destructive testing. Terms and definitions
Дата актуализации текста: 19.06.2012
Дата актуализации описания: 19.06.2012
Дата введения в действие: 01.07.1983
Область и условия применения: Настоящий стандарт устанавливает применяемые в науке, технике и производстве термины и определения понятий в области электрического неразрушающего контроля качества материалов, полуфабрикатов и изделий.
Термины, установленные стандартом, обязательны для применения в документации всех видов, научно-технической, учебной и справочной литературе


ГОСТ 25315-82
ГОСТ 25315-82
ГОСТ 25315-82
Автор: 
Домашняя страница автора: 

ГОСТ 25377-82

E-mail автора: 

Иглы инъекционные многократного применения. Технические условия

Обозначение: ГОСТ 25377-82
Статус: действует только в РФ
Название рус.: Иглы инъекционные многократного применения. Технические условия
Название англ.: Needles for injections for repeated use. Specifications
Дата актуализации текста: 19.06.2012
Дата актуализации описания: 19.06.2012
Дата введения в действие: 01.07.1983
Область и условия применения: Настоящий стандарт распространяется на инъекционные иглы многократного применения, предназначенные для введения различных жидкостей в организм и отсасывания из него различных жидкостей.
Настоящий стандарт не распространяется на трубчатые иглы специального назначения, ветеринарные, а также имеющие головку, состоящую из нескольких деталей, уникальной формы заточки
Список изменений: №1 от 01.10.1986 (рег. 30.09.1986) «Срок действия продлен»
№2 от 01.07.1987 (рег. 20.03.1987) «Срок действия продлен»
№3 от 01.07.1988 (рег. 23.12.1987) «Срок действия продлен»
№4 от 01.02.1989 (рег. 23.09.1988) «Срок действия продлен»
№5 от 01.01.1990 (рег. 19.06.1989) «Срок действия продлен»
№6 от 01.05.1990 (рег. 09.11.1989) «Срок действия продлен»
№7 от 01.10.1993 (рег. 17.02.1993) «Срок действия продлен»
№8 от 01.09.2011 (рег. 16.08.2011) «Срок действия продлен»
Приложение №1: Изменение №8 к ГОСТ 25377-82


ГОСТ 25377-82
ГОСТ 25377-82
ГОСТ 25377-82
ГОСТ 25377-82
ГОСТ 25377-82
ГОСТ 25377-82
ГОСТ 25377-82
ГОСТ 25377-82
ГОСТ 25377-82
ГОСТ 25377-82
ГОСТ 25377-82
ГОСТ 25377-82
ГОСТ 25377-82
ГОСТ 25377-82
ГОСТ 25377-82
ГОСТ 25377-82
ГОСТ 25377-82
ГОСТ 25377-82
ГОСТ 25377-82
ГОСТ 25377-82
ГОСТ 25377-82
ГОСТ 25377-82
ГОСТ 25377-82
ГОСТ 25377-82
ГОСТ 25377-82
ГОСТ 25377-82
ГОСТ 25377-82
ГОСТ 25377-82
ГОСТ 25377-82
ГОСТ 25377-82
ГОСТ 25377-82
ГОСТ 25377-82
ГОСТ 25377-82
ГОСТ 25377-82
ГОСТ 25377-82
ГОСТ 25377-82
ГОСТ 25377-82
ГОСТ 25377-82
ГОСТ 25377-82
ГОСТ 25377-82
ГОСТ 25377-82
ГОСТ 25377-82
ГОСТ 25377-82
ГОСТ 25377-82
ГОСТ 25377-82
ГОСТ 25377-82
ГОСТ 25377-82
ГОСТ 25377-82
ГОСТ 25377-82
ГОСТ 25377-82
ГОСТ 25377-82
ГОСТ 25377-82
ГОСТ 25377-82


Изменение №8 к ГОСТ 25377-82

Обозначение: Изменение №8 к ГОСТ 25377-82
Дата введения в действие: 01.09.2011
Дата актуализации: 12.02.2012


Изменение №8 к ГОСТ 25377-82
Автор: 
Домашняя страница автора: 

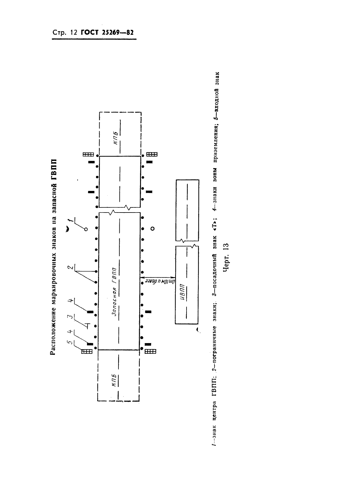
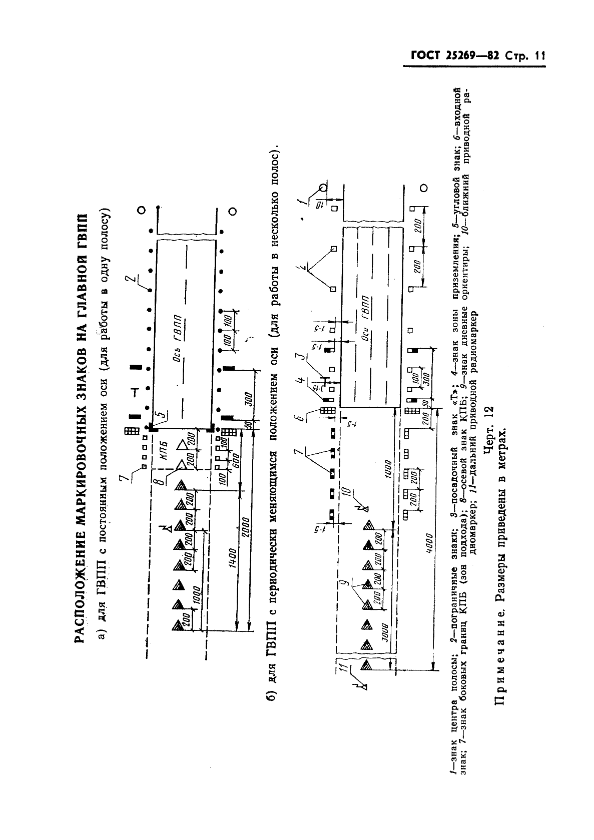
ГОСТ 25269-82

E-mail автора: 

Аэродромы. Дневная маркировка грунтовых аэродромов

Обозначение: ГОСТ 25269-82
Статус: действующий
Название рус.: Аэродромы. Дневная маркировка грунтовых аэродромов
Название англ.: Airfields. Day marking unpaved airfields
Дата актуализации текста: 19.06.2012
Дата актуализации описания: 19.06.2012
Дата введения в действие: 01.07.1983
Область и условия применения: Настоящий стандарт устанавливает требования к дневной маркировке главных, запасных и вспомогательных грунтовых взлетно-посадочных полос, рулежных дорожек, мест стоянок и перронов, а также назначение маркировочных знаков, их размеры, форму, цвет и расположение на грунтовых аэродромах


ГОСТ 25269-82
ГОСТ 25269-82
ГОСТ 25269-82
ГОСТ 25269-82
ГОСТ 25269-82
ГОСТ 25269-82
ГОСТ 25269-82
ГОСТ 25269-82
ГОСТ 25269-82
ГОСТ 25269-82
ГОСТ 25269-82
ГОСТ 25269-82
ГОСТ 25269-82
ГОСТ 25269-82
ГОСТ 25269-82
Автор: 
Домашняя страница автора: 

ГОСТ 25481-82

E-mail автора: 

Пакеты трехкассетных пресс-форм для изготовления резинотканевых опорных колец. Конструкция и размеры

Обозначение: ГОСТ 25481-82
Статус: действующий
Название рус.: Пакеты трехкассетных пресс-форм для изготовления резинотканевых опорных колец. Конструкция и размеры
Название англ.: Packets of three-cassets press moulds for manufacturing the rubber-fabric carrier rings. Design and dimensions
Дата актуализации текста: 19.06.2012
Дата актуализации описания: 19.06.2012
Дата введения в действие: 01.01.1984
Область и условия применения: Настоящий стандарт распространяется на пакеты, устанавливаемые в блоки трехкассетных пресс-форм для изготовления опорных колец резотканевых уплотнений


ГОСТ 25481-82
ГОСТ 25481-82
ГОСТ 25481-82
ГОСТ 25481-82
ГОСТ 25481-82
ГОСТ 25481-82
ГОСТ 25481-82
ГОСТ 25481-82
ГОСТ 25481-82
ГОСТ 25481-82
ГОСТ 25481-82
ГОСТ 25481-82
ГОСТ 25481-82
ГОСТ 25481-82
ГОСТ 25481-82
ГОСТ 25481-82
ГОСТ 25481-82
ГОСТ 25481-82
ГОСТ 25481-82
ГОСТ 25481-82
ГОСТ 25481-82
ГОСТ 25481-82
ГОСТ 25481-82
ГОСТ 25481-82
ГОСТ 25481-82
ГОСТ 25481-82
ГОСТ 25481-82
ГОСТ 25481-82
ГОСТ 25481-82
ГОСТ 25481-82
ГОСТ 25481-82
ГОСТ 25481-82
ГОСТ 25481-82
ГОСТ 25481-82
ГОСТ 25481-82
ГОСТ 25481-82
ГОСТ 25481-82
ГОСТ 25481-82
Автор: 
Домашняя страница автора: 

ГОСТ 25205-82

E-mail автора: 

Фотоаппараты и съемочные фотографические объективы. Термины и определения

Обозначение: ГОСТ 25205-82
Статус: действующий
Название рус.: Фотоаппараты и съемочные фотографические объективы. Термины и определения
Название англ.: Still picture cameras and photographic lenses. Terms and definitions
Дата актуализации текста: 19.06.2012
Дата актуализации описания: 19.06.2012
Дата введения в действие: 01.07.1983
Область и условия применения: Настоящий стандарт устанавливает применяемые в науке, технике и производстве термины и определения основных понятий в области любительских фотоаппаратов и съемочных фотографических объективов, относящихся к ним


ГОСТ 25205-82
ГОСТ 25205-82
ГОСТ 25205-82
ГОСТ 25205-82
ГОСТ 25205-82
ГОСТ 25205-82
ГОСТ 25205-82
ГОСТ 25205-82
ГОСТ 25205-82
ГОСТ 25205-82
ГОСТ 25205-82
ГОСТ 25205-82
ГОСТ 25205-82
ГОСТ 25205-82
ГОСТ 25205-82
ГОСТ 25205-82
ГОСТ 25205-82
Автор: 
Домашняя страница автора: 

ГОСТ 25221-82

E-mail автора: 

Сосуды и аппараты. Днища и крышки сферические неотбортованные. Нормы и методы расчета на прочность

Обозначение: ГОСТ 25221-82
Статус: действующий
Название рус.: Сосуды и аппараты. Днища и крышки сферические неотбортованные. Нормы и методы расчета на прочность
Название англ.: Vessels and apparatuses. Spherical non-sided heads and bottoms. Norms and methods of strength calculation
Дата актуализации текста: 19.06.2012
Дата актуализации описания: 19.06.2012
Дата введения в действие: 01.07.1983
Область и условия применения: Настоящий стандарт распространяется на сферические неотбортованные днища и крышки сосудов и аппаратов, применяемых в химической, нефтеперерабатывающей и смежных отраслях промышленности, и устанавливает нормы и методы расчета на прочность и устойчивость днищ и крышек с различным конструктивным исполнением элементов приварки, используемых в условиях статических нагрузок


ГОСТ 25221-82
ГОСТ 25221-82
ГОСТ 25221-82
ГОСТ 25221-82
ГОСТ 25221-82
ГОСТ 25221-82
ГОСТ 25221-82
ГОСТ 25221-82
Автор: 
Домашняя страница автора: 

ГОСТ 25528-82

E-mail автора: 

Стойки, шкафы и блоки студийной телевизионной аппаратуры. Габаритные и установочные размеры

Обозначение: ГОСТ 25528-82
Статус: действующий
Название рус.: Стойки, шкафы и блоки студийной телевизионной аппаратуры. Габаритные и установочные размеры
Название англ.: Posts, cabinets and units of studio television equipment. Overall and fexind dimensions
Дата актуализации текста: 19.06.2012
Дата актуализации описания: 19.06.2012
Дата введения в действие: 01.01.1984
Область и условия применения: Настоящий стандарт распространяется на стойки, шкафы и блоки размерами, соответствующими ширине панели 482,6 мм, и устанавливает их габаритные и установочные размеры для компоновки функциональных комплектов студийной телевизионной аппаратуры из отдельных блоков
Список изменений: №0 от 26.05.1988 (рег. 26.05.1988) «Срок действия продлен»
№1 от 01.07.1989 (рег. 30.01.1989) «Срок действия продлен»


ГОСТ 25528-82
ГОСТ 25528-82
ГОСТ 25528-82
ГОСТ 25528-82
ГОСТ 25528-82
ГОСТ 25528-82
ГОСТ 25528-82
Автор: 
Домашняя страница автора: 

ГОСТ 25278.3-82

E-mail автора: 

Сплавы и лигатуры редких металлов. Метод определения гафния

Обозначение: ГОСТ 25278.3-82
Статус: действующий
Название рус.: Сплавы и лигатуры редких металлов. Метод определения гафния
Название англ.: Alloys and foundry alloys of rare metals. Method for determination of hafnium
Дата актуализации текста: 19.06.2012
Дата актуализации описания: 19.06.2012
Дата введения в действие: 01.07.1983
Область и условия применения: Настоящий стандарт устанавливает фотометрический метод определения гафния
Список изменений: №1 от 01.07.1988 (рег. 29.10.1987) «Срок действия продлен»


ГОСТ 25278.3-82
ГОСТ 25278.3-82
ГОСТ 25278.3-82
ГОСТ 25278.3-82
ГОСТ 25278.3-82
Автор: 
Домашняя страница автора: 

ГОСТ 25183.2-82

E-mail автора: 

Желатин фотографический. Метод определения мелких частиц

Обозначение: ГОСТ 25183.2-82
Статус: действующий
Название рус.: Желатин фотографический. Метод определения мелких частиц
Название англ.: Photographic gelatine. Method of determination of small particles
Дата актуализации текста: 19.06.2012
Дата актуализации описания: 19.06.2012
Дата введения в действие: 01.01.1983
Область и условия применения: Настоящий стандарт устанавливает метод определения массовой доли мелких частиц фотографического желатина


ГОСТ 25183.2-82
ГОСТ 25183.2-82
Автор: 
Домашняя страница автора: 

Страницы